Toro 35-36RL02 - 36" Rear Discharge Mower, 1990 REAR DISCHARGE MOWER - 36" (92CM), VIN 35-36RL02 #2 Ersatzteile
REAR DISCHARGE MOWER - 36" (92CM), VIN 35-36RL02 #2 35-36RL02 - Toro 36" Rear Discharge Mower, 1990

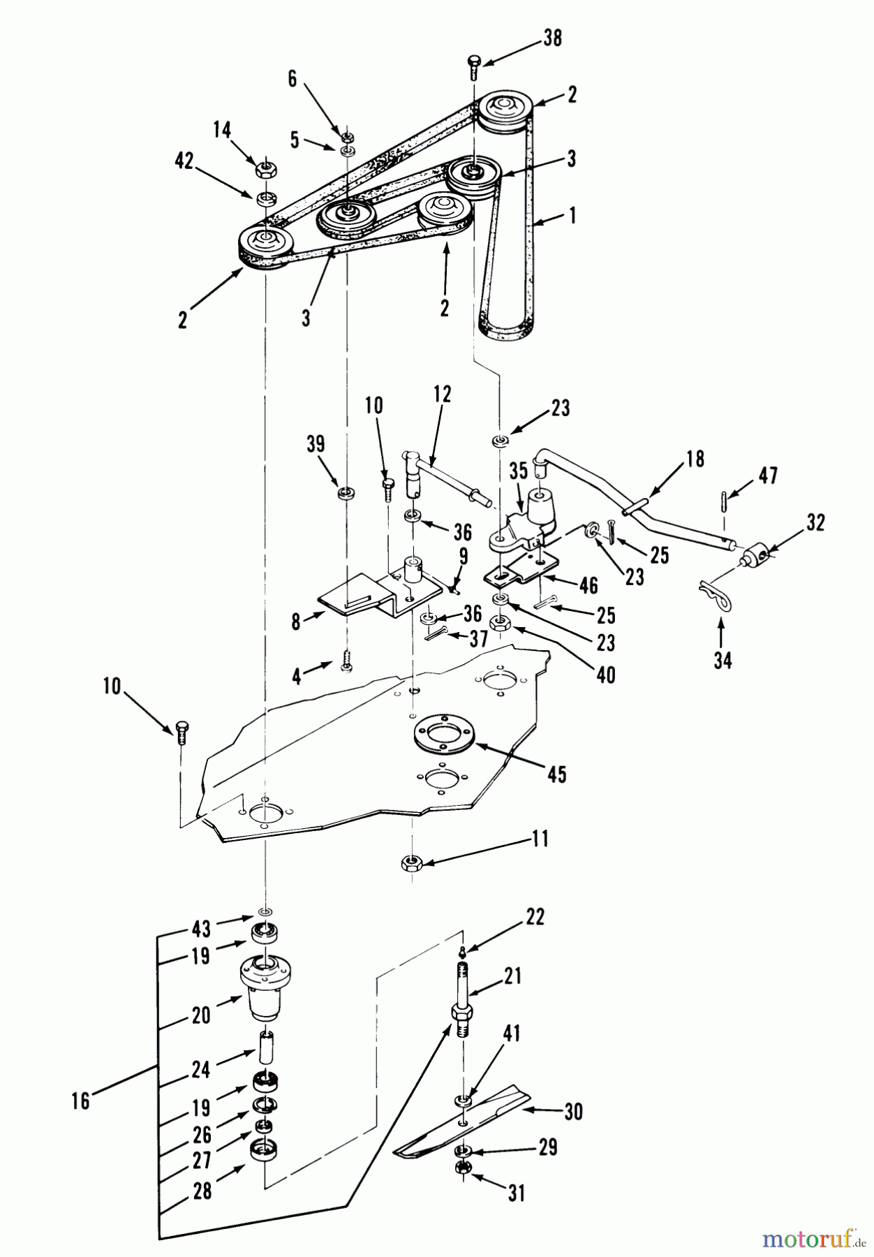
Hier finden Sie die Ersatzteilzeichnung für Toro Neu Mowers, Deck Assembly Only 35-36RL02 - Toro 36" Rear Discharge Mower, 1990 REAR DISCHARGE MOWER - 36" (92CM), VIN 35-36RL02 #2. Wählen Sie das benötigte Ersatzteil aus der Ersatzteilliste Ihres Toro Gerätes aus und bestellen Sie einfach online. Viele Toro Ersatzteile halten wir ständig in unserem Lager für Sie bereit.


Qualitätsmanagement
Informieren Sie uns, wenn Sie einen Fehler gefunden haben.



