Toro 30136 - 36" Side Discharge Mower, 1994 (4901037-4999999) DRIVE SPINDLE NO. 27-0870 Ersatzteile
DRIVE SPINDLE NO. 27-0870 30136 - Toro 36" Side Discharge Mower, 1994 (4901037-4999999)

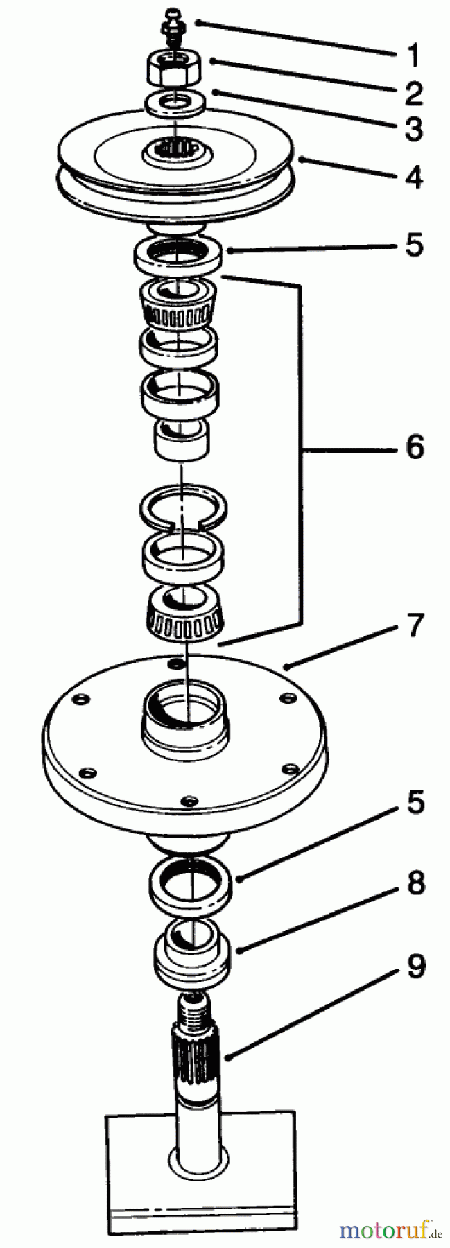
Hier finden Sie die Ersatzteilzeichnung für Toro Neu Mowers, Deck Assembly Only 30136 - Toro 36" Side Discharge Mower, 1994 (4901037-4999999) DRIVE SPINDLE NO. 27-0870. Wählen Sie das benötigte Ersatzteil aus der Ersatzteilliste Ihres Toro Gerätes aus und bestellen Sie einfach online. Viele Toro Ersatzteile halten wir ständig in unserem Lager für Sie bereit.
| BildNr | Artikel Nummer | Bezeichnung | |
| 1 | TR302-2 | Fettnippel | |
| 2 | TR32146-20 | Mutter | |
| 3 | TR7-4150 | WASHER | |
| 4 | TR27-0970-03 | Riemenscheibe | |
| 5 | TR253-139 | SEAL-OIL | |
| 6 | TR46-8530 | BEARING ASM | |
| 7 | TR61-4160 | HOUSING-SPINDLE | |
| 8 | TR27-0950 | Lagerbuechse | |
| 9 | TR27-0920 | SHAFT | |



