Toro 97-36TL01 - 36" Tiller, 1979 TILLER-50 IN. (127 CM)(VEHICLE IDENTIFICATION NUMBER 97-50TL01) Ersatzteile
TILLER-50 IN. (127 CM)(VEHICLE IDENTIFICATION NUMBER 97-50TL01) 97-36TL01 - Toro 36" Tiller, 1979

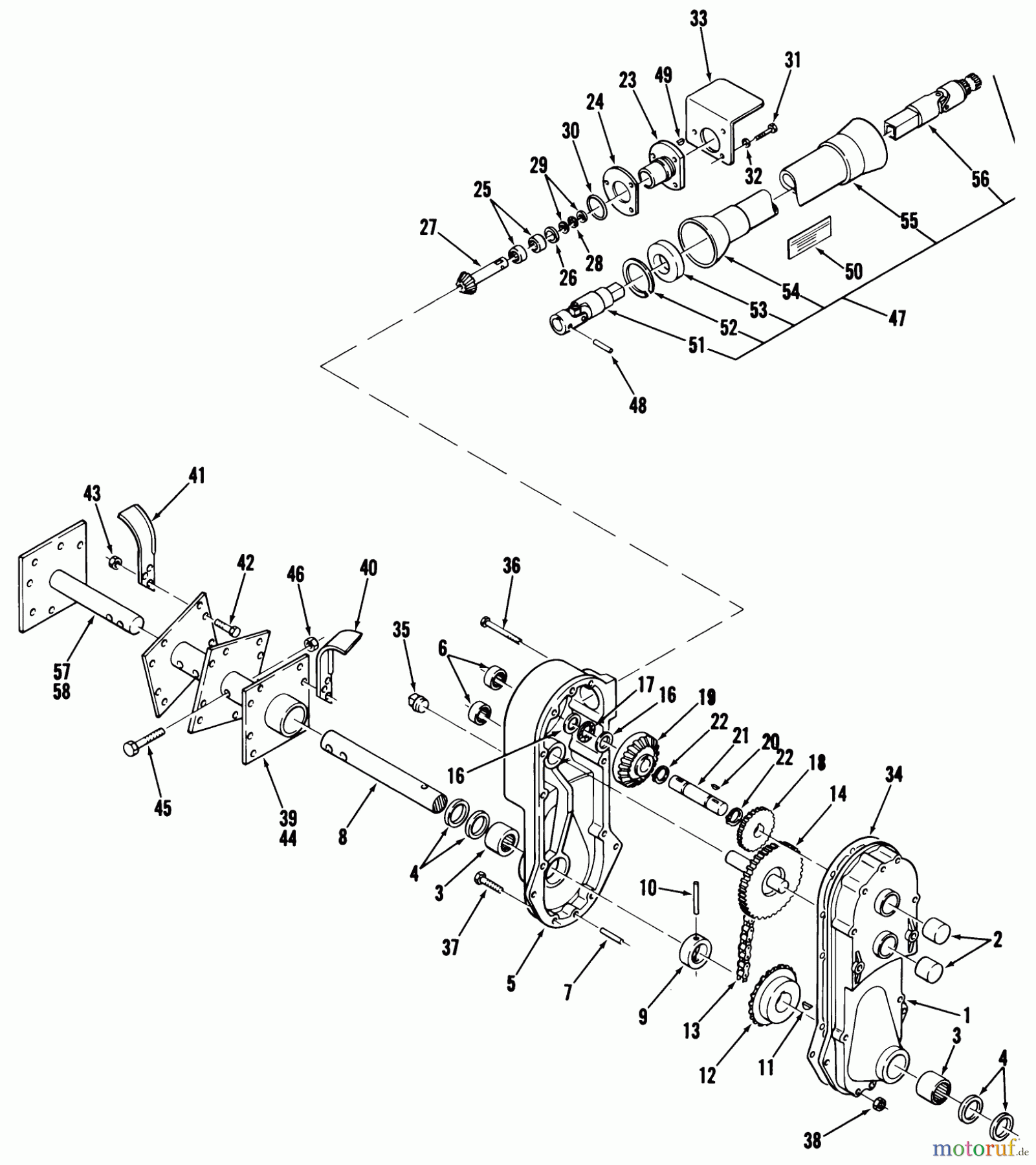
Hier finden Sie die Ersatzteilzeichnung für Toro Neu Accessories, Tiller/Cultivator 97-36TL01 - Toro 36" Tiller, 1979 TILLER-50 IN. (127 CM)(VEHICLE IDENTIFICATION NUMBER 97-50TL01). Wählen Sie das benötigte Ersatzteil aus der Ersatzteilliste Ihres Toro Gerätes aus und bestellen Sie einfach online. Viele Toro Ersatzteile halten wir ständig in unserem Lager für Sie bereit.


Qualitätsmanagement
Informieren Sie uns, wenn Sie einen Fehler gefunden haben.

