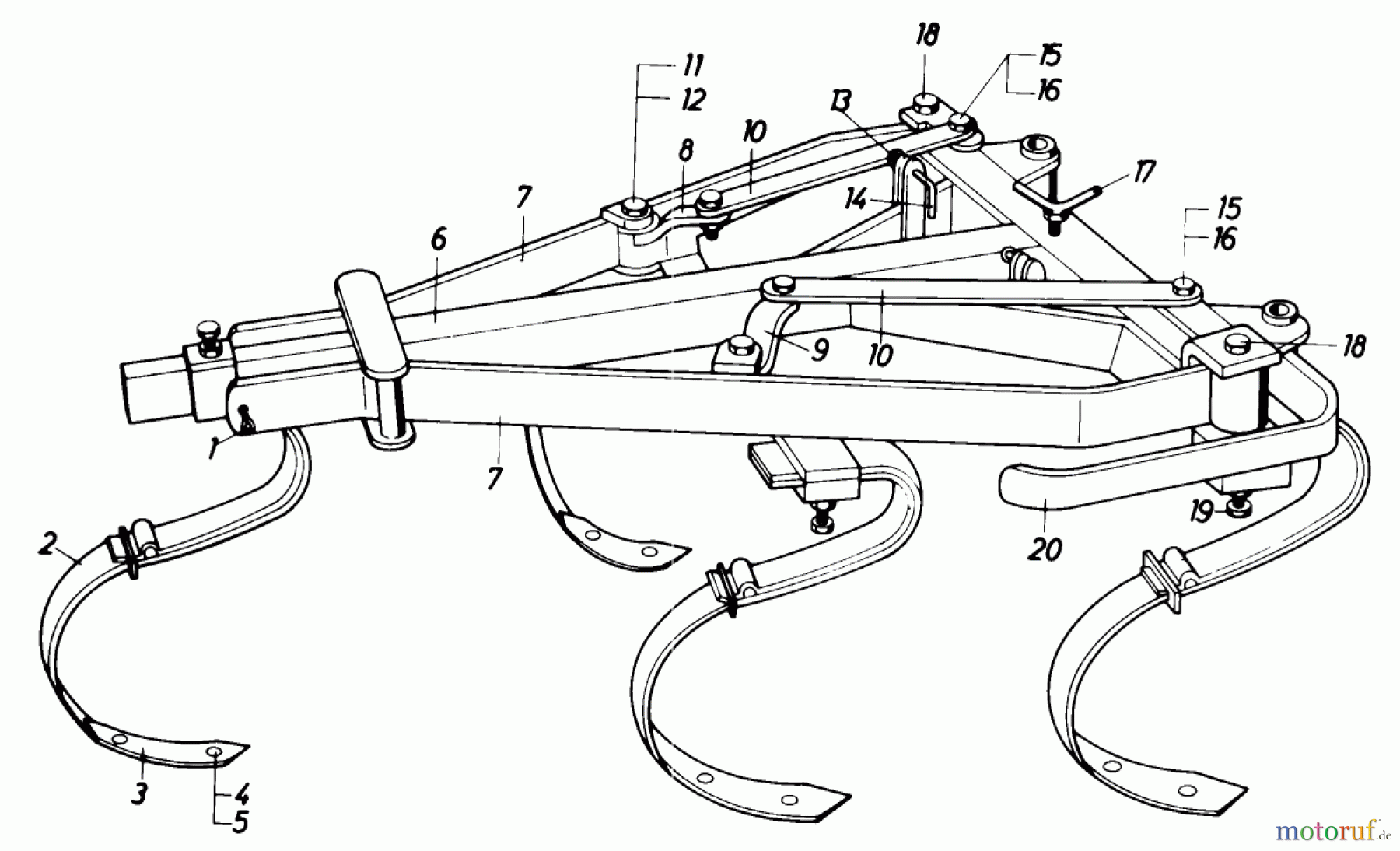
Toro 67-42CR01 - 42" Cultivator, 1976 PARTS LIST FOR 42" CULTIVATOR (FACTORY ORDER NUMBER 67-42CR01) Ersatzteile
PARTS LIST FOR 42" CULTIVATOR (FACTORY ORDER NUMBER 67-42CR01) 67-42CR01 - Toro 42" Cultivator, 1976

Hier finden Sie die Ersatzteilzeichnung für Toro Neu Accessories, Tiller/Cultivator 67-42CR01 - Toro 42" Cultivator, 1976 PARTS LIST FOR 42" CULTIVATOR (FACTORY ORDER NUMBER 67-42CR01). Wählen Sie das benötigte Ersatzteil aus der Ersatzteilliste Ihres Toro Gerätes aus und bestellen Sie einfach online. Viele Toro Ersatzteile halten wir ständig in unserem Lager für Sie bereit.



