Toro 79252 - 48" Snow Blade, 260 Series Yard Tractors, 1994 (4900001-4999999) BLADE ASSEMBLY Ersatzteile
BLADE ASSEMBLY 79252 - Toro 48" Snow Blade, 260 Series Yard Tractors, 1994 (4900001-4999999)

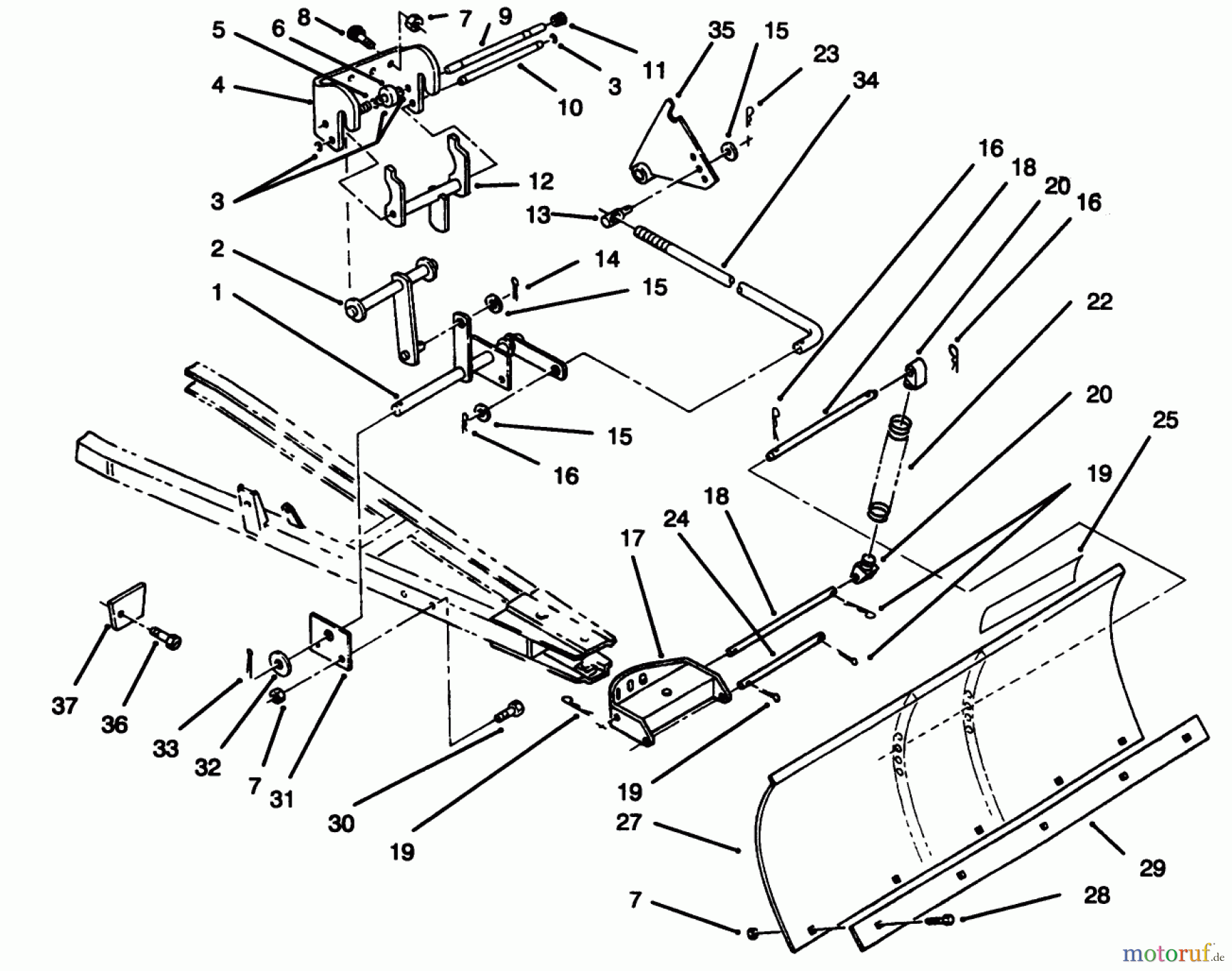
Hier finden Sie die Ersatzteilzeichnung für Toro Neu Accessories, Snow 79252 - Toro 48" Snow Blade, 260 Series Yard Tractors, 1994 (4900001-4999999) BLADE ASSEMBLY. Wählen Sie das benötigte Ersatzteil aus der Ersatzteilliste Ihres Toro Gerätes aus und bestellen Sie einfach online. Viele Toro Ersatzteile halten wir ständig in unserem Lager für Sie bereit.


Qualitätsmanagement
Informieren Sie uns, wenn Sie einen Fehler gefunden haben.

