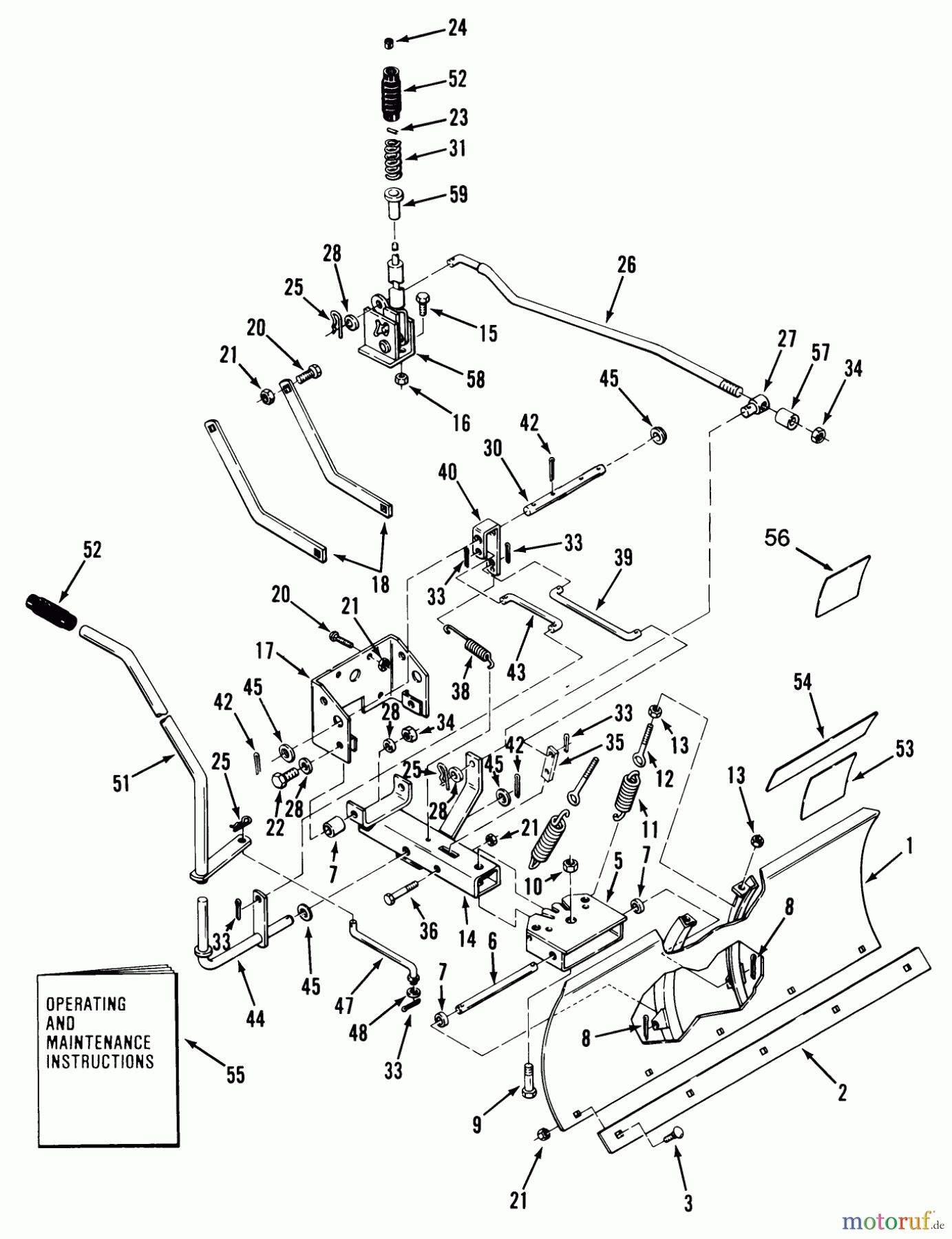
Toro 36-42BL01 - 42" Snow Blade, 1988 SNOW BLADE-42" (107 CM) Ersatzteile
SNOW BLADE-42" (107 CM) 36-42BL01 - Toro 42" Snow Blade, 1988

Hier finden Sie die Ersatzteilzeichnung für Toro Neu Accessories, Snow 36-42BL01 - Toro 42" Snow Blade, 1988 SNOW BLADE-42" (107 CM). Wählen Sie das benötigte Ersatzteil aus der Ersatzteilliste Ihres Toro Gerätes aus und bestellen Sie einfach online. Viele Toro Ersatzteile halten wir ständig in unserem Lager für Sie bereit.


Qualitätsmanagement
Informieren Sie uns, wenn Sie einen Fehler gefunden haben.




