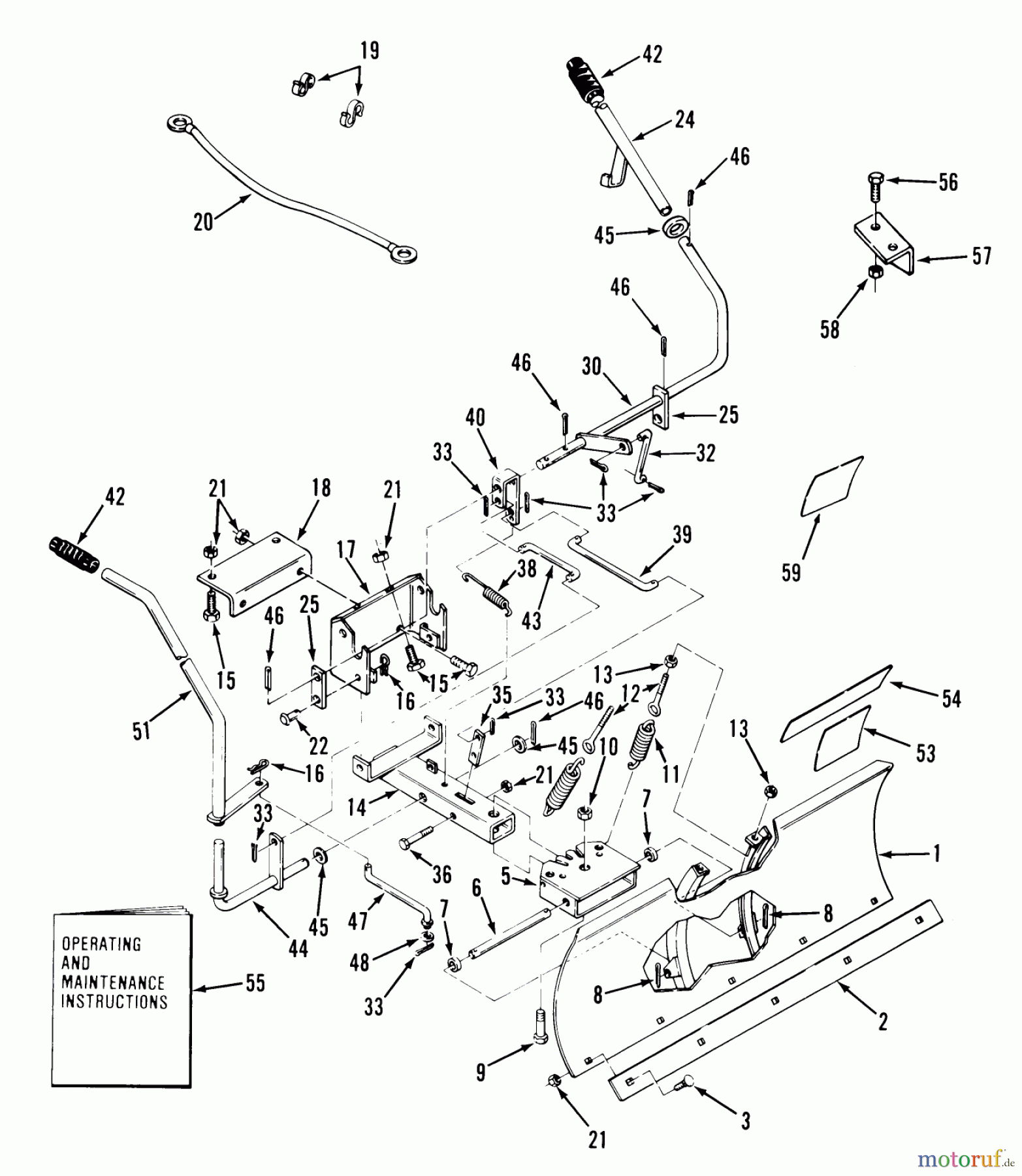
Toro 06-42BL01 - 42" Snow Blade, 1987 SNOW BLADE-42 IN (107 CM) VEHICLE IDENTIFICATION NUMBER 06-42BR01 Ersatzteile
SNOW BLADE-42 IN (107 CM) VEHICLE IDENTIFICATION NUMBER 06-42BR01 06-42BL01 - Toro 42" Snow Blade, 1987

Hier finden Sie die Ersatzteilzeichnung für Toro Neu Accessories, Snow 06-42BL01 - Toro 42" Snow Blade, 1987 SNOW BLADE-42 IN (107 CM) VEHICLE IDENTIFICATION NUMBER 06-42BR01. Wählen Sie das benötigte Ersatzteil aus der Ersatzteilliste Ihres Toro Gerätes aus und bestellen Sie einfach online. Viele Toro Ersatzteile halten wir ständig in unserem Lager für Sie bereit.


Qualitätsmanagement
Informieren Sie uns, wenn Sie einen Fehler gefunden haben.



