Toro 81125 - Front Weight, 300 and 400 Series Tractors, 1987 PARTS LIST FOR FRONT WEIGHT KIT FACTORY ORDER NO. 81125 Ersatzteile
PARTS LIST FOR FRONT WEIGHT KIT FACTORY ORDER NO. 81125 81125 - Toro Front Weight, 300 and 400 Series Tractors, 1987

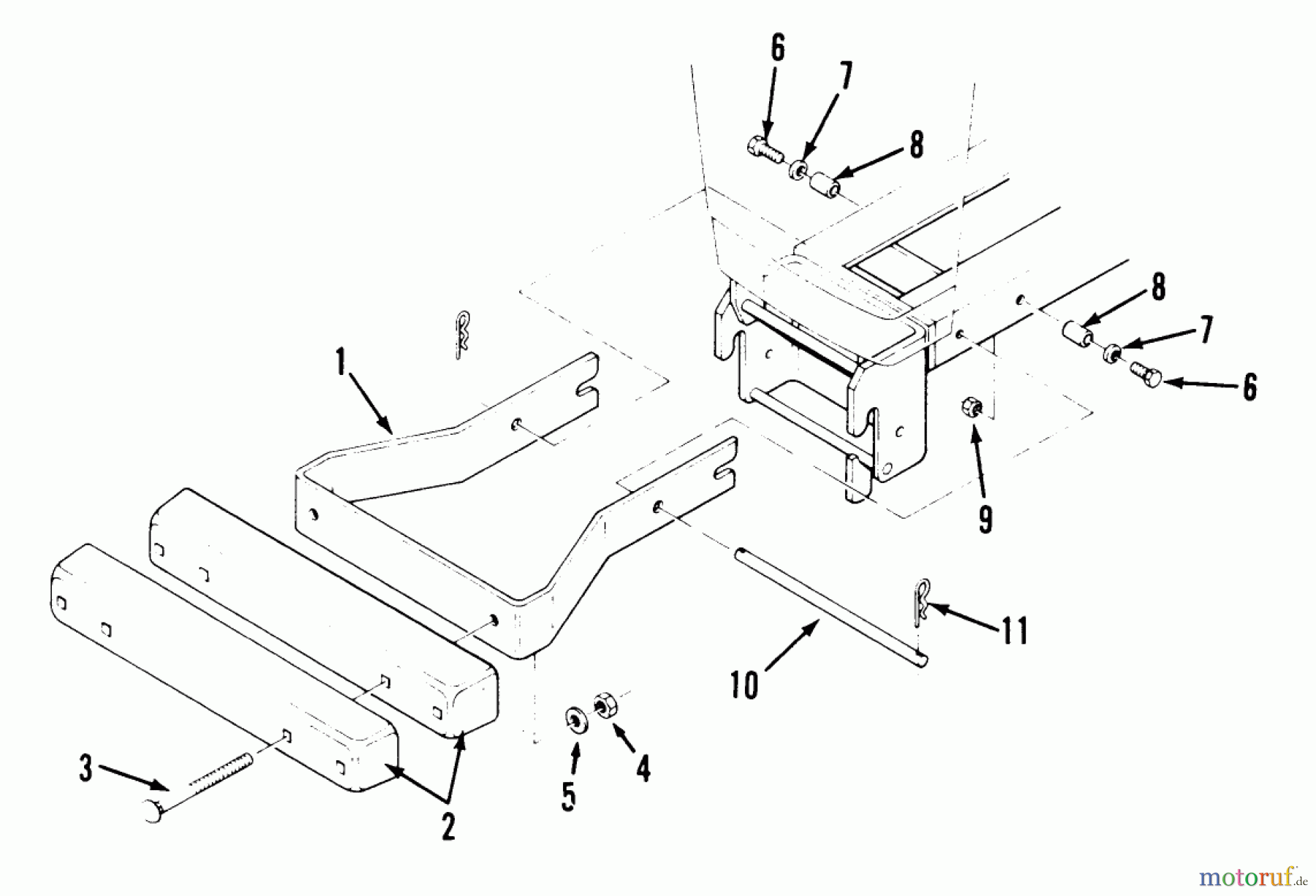
Hier finden Sie die Ersatzteilzeichnung für Toro Neu Accessories, Mower 81125 - Toro Front Weight, 300 and 400 Series Tractors, 1987 PARTS LIST FOR FRONT WEIGHT KIT FACTORY ORDER NO. 81125. Wählen Sie das benötigte Ersatzteil aus der Ersatzteilliste Ihres Toro Gerätes aus und bestellen Sie einfach online. Viele Toro Ersatzteile halten wir ständig in unserem Lager für Sie bereit.
| BildNr | Artikel Nummer | Bezeichnung | |
| 1 | TR112838-01 | FRAME-WEIGHT | |
| 2 | TR107684 | FRONT WEIGHT *B | |
| 3 | TR900103 | DISCONTINUED | |
| 4 | TR3296-48 | Stopmutter | |
| 5 | TR92-0010 | U-Bolzen | |
| 6 | TR323-7 | Schraube | |
| 7 | TR3256-4 | WASHER-FLAT | |
| 8 | TR100283 | SPACER | |
| 9 | TR32-9639 | ||
| 10 | TR11-2839 | DISCONTINUED X-REF | |
| 11 | TR933505 | FEDERSTECKER (10) | |



