Toro 80492 - Heavy-Duty Wheels/Spindles Kit, 1987 PARTS LIST FOR HEAVY DUTY FRONT WHEELS AND SPINDLES KIT FACTORY ORDER NO. 80492 Ersatzteile
PARTS LIST FOR HEAVY DUTY FRONT WHEELS AND SPINDLES KIT FACTORY ORDER NO. 80492 80492 - Toro Heavy-Duty Wheels/Spindles Kit, 1987

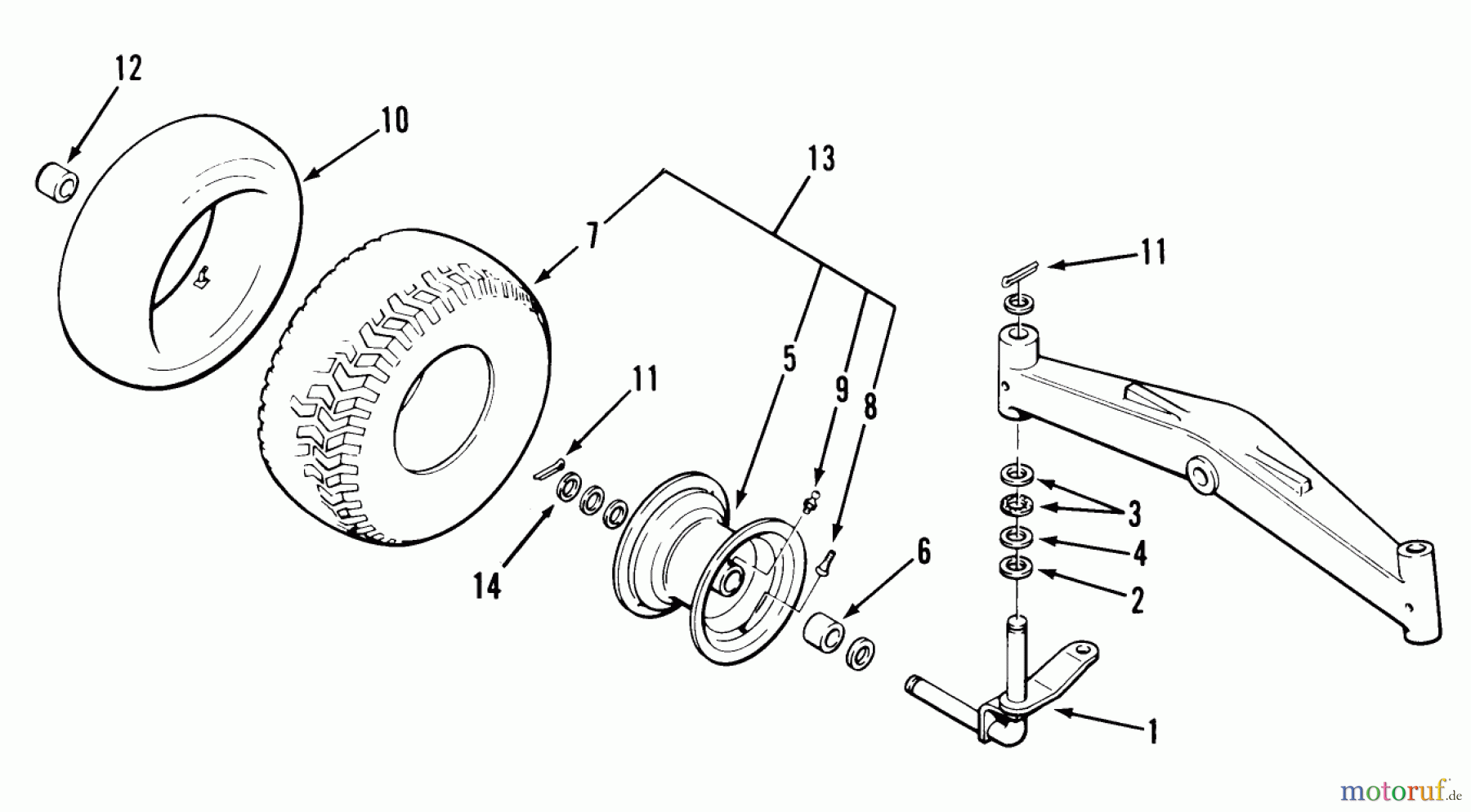
Hier finden Sie die Ersatzteilzeichnung für Toro Neu Accessories, Mower 80492 - Toro Heavy-Duty Wheels/Spindles Kit, 1987 PARTS LIST FOR HEAVY DUTY FRONT WHEELS AND SPINDLES KIT FACTORY ORDER NO. 80492. Wählen Sie das benötigte Ersatzteil aus der Ersatzteilliste Ihres Toro Gerätes aus und bestellen Sie einfach online. Viele Toro Ersatzteile halten wir ständig in unserem Lager für Sie bereit.


Qualitätsmanagement
Informieren Sie uns, wenn Sie einen Fehler gefunden haben.

