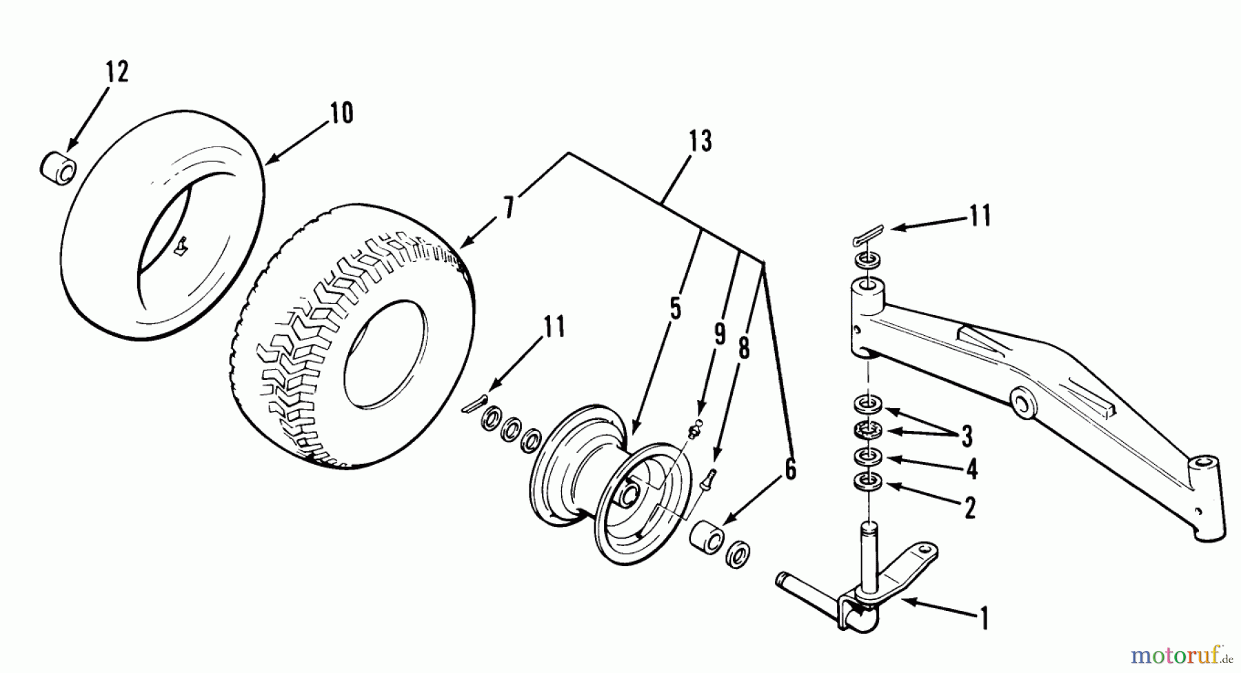
Toro 80491 - Heavy-Duty Wheels/Spindles Kit, 1986 PARTS LIST FOR HEAVY DUTY FRONT WHEELS AND SPINDLES KIT FACTORY ORDER NUMBER 8-0491 Ersatzteile
PARTS LIST FOR HEAVY DUTY FRONT WHEELS AND SPINDLES KIT FACTORY ORDER NUMBER 8-0491 80491 - Toro Heavy-Duty Wheels/Spindles Kit, 1986

Hier finden Sie die Ersatzteilzeichnung für Toro Neu Accessories, Mower 80491 - Toro Heavy-Duty Wheels/Spindles Kit, 1986 PARTS LIST FOR HEAVY DUTY FRONT WHEELS AND SPINDLES KIT FACTORY ORDER NUMBER 8-0491. Wählen Sie das benötigte Ersatzteil aus der Ersatzteilliste Ihres Toro Gerätes aus und bestellen Sie einfach online. Viele Toro Ersatzteile halten wir ständig in unserem Lager für Sie bereit.



