Toro 79333 - 32" Bagger, 2011 and After TimeCutter 3000 Series Riding Mower, 2011 (311000001-311999999) 32 INCH BAGGER CHUTE ASSEMBLY NO. 119-8827 Ersatzteile
32 INCH BAGGER CHUTE ASSEMBLY NO. 119-8827 79333 - Toro 32" Bagger, 2011 and After TimeCutter 3000 Series Riding Mower, 2011 (311000001-311999999)

Hier finden Sie die Ersatzteilzeichnung für Toro Neu Accessories, Mower 79333 - Toro 32" Bagger, 2011 and After TimeCutter 3000 Series Riding Mower, 2011 (311000001-311999999) 32 INCH BAGGER CHUTE ASSEMBLY NO. 119-8827. Wählen Sie das benötigte Ersatzteil aus der Ersatzteilliste Ihres Toro Gerätes aus und bestellen Sie einfach online. Viele Toro Ersatzteile halten wir ständig in unserem Lager für Sie bereit.
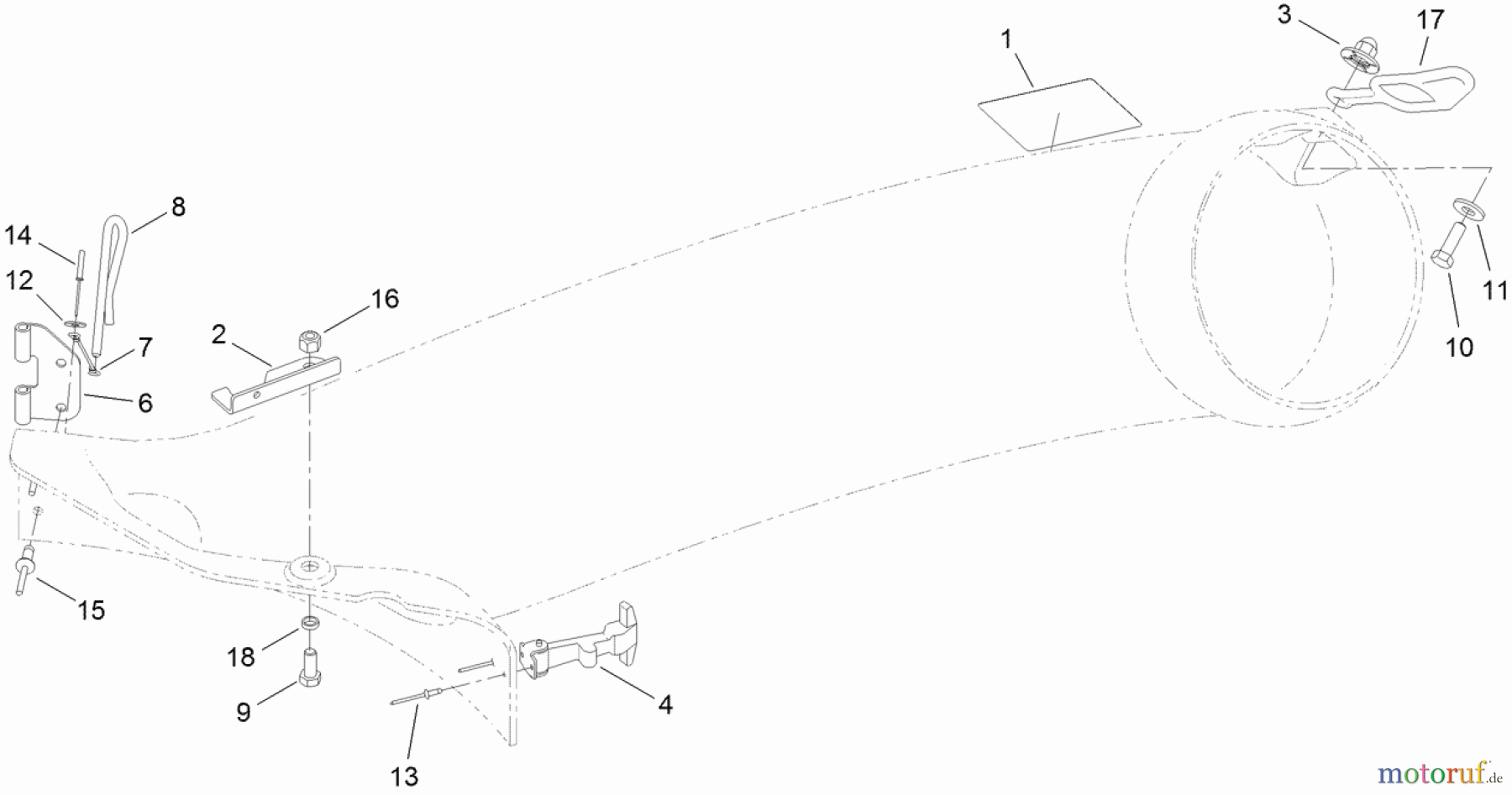
| BildNr | Artikel Nummer | Bezeichnung | |
| 1 | TR110-6691 | DECAL-DANGER | |
| 2 | TR120-7118 | LATCH | |
| 3 | TR114-9015 | NUT-IMPELLER | |
| 4 | TR117344 | Halter | |
| 6 | TR119-8971 | BRACKET-CHUTE MOUNTING | |
| 7 | TR28-8070 | Stahlseil | |
| 8 | TR28-8130 | Stift | |
| 9 | TR322-3 | Schraube | |
| 10 | TR322-5 | Schraube | |
| 11 | TR3256-3 | Scheibe | |
| 12 | TR3256-49 | Scheibe | |
| 13 | TR3269-31 | RIVET-POP | |
| 14 | TR3290-282 | Niete | |
| 15 | TR3290-412 | RIVET | |
| 16 | ![]() | TR3296-29 | Mutter |
| 17 | TR82-5690 | Halteband | |
| 18 | TR93-8013 | BUSHING | |


Qualitätsmanagement
Informieren Sie uns, wenn Sie einen Fehler gefunden haben.


