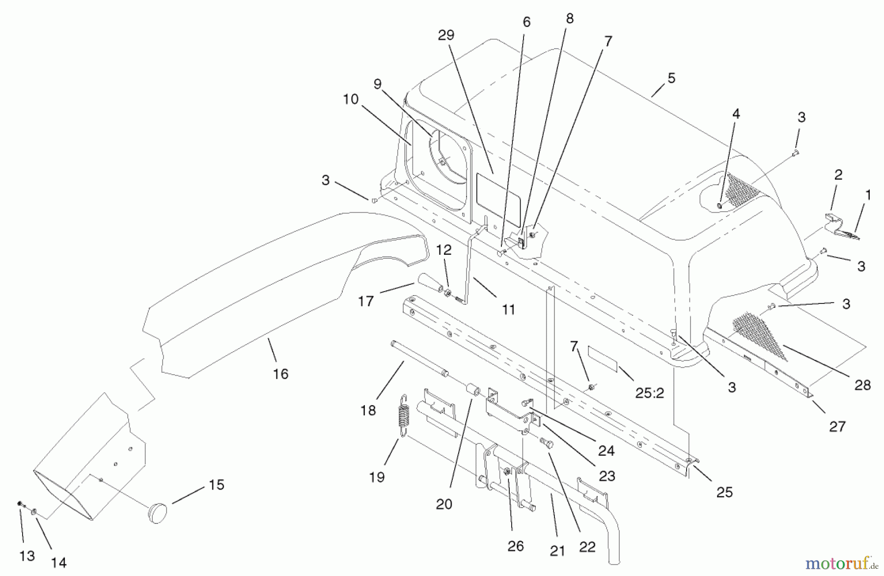
Toro 79301 - 42"/48" Vacuum Bagger, 300 Series Garden Tractors, 2004 (240000001-240999999) BAG ASSEMBLY (TOP) Ersatzteile
BAG ASSEMBLY (TOP) 79301 - Toro 42"/48" Vacuum Bagger, 300 Series Garden Tractors, 2004 (240000001-240999999)

Hier finden Sie die Ersatzteilzeichnung für Toro Neu Accessories, Mower 79301 - Toro 42"/48" Vacuum Bagger, 300 Series Garden Tractors, 2004 (240000001-240999999) BAG ASSEMBLY (TOP). Wählen Sie das benötigte Ersatzteil aus der Ersatzteilliste Ihres Toro Gerätes aus und bestellen Sie einfach online. Viele Toro Ersatzteile halten wir ständig in unserem Lager für Sie bereit.