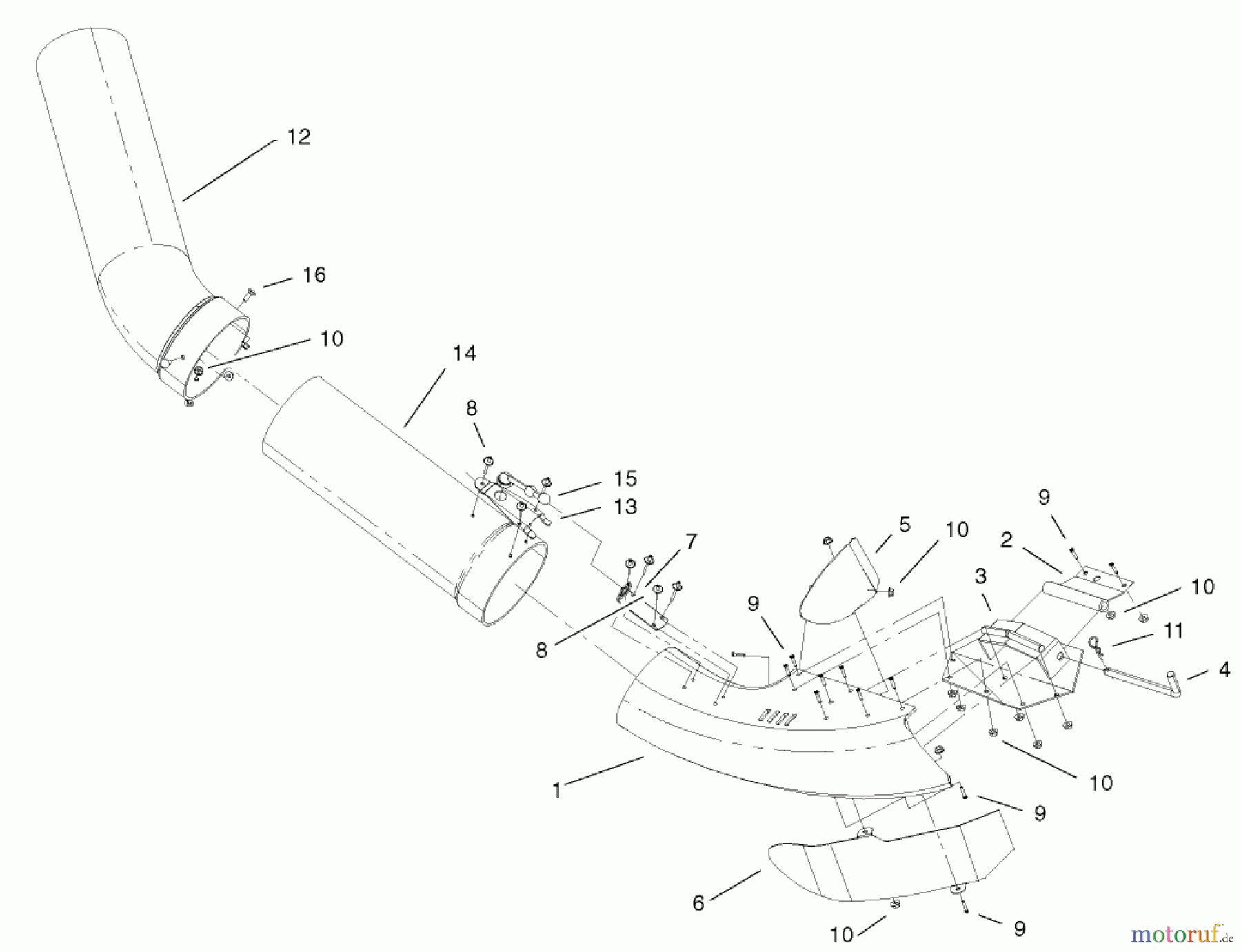
Toro 78200 - Quiet Collector, Wheel Horse 260-Series Lawn and Garden Tractors, 2002 (220000001-220999999) BAFFLE AND TUBE ASSEMBLY Ersatzteile
BAFFLE AND TUBE ASSEMBLY 78200 - Toro Quiet Collector, Wheel Horse 260-Series Lawn and Garden Tractors, 2002 (220000001-220999999)

Hier finden Sie die Ersatzteilzeichnung für Toro Neu Accessories, Mower 78200 - Toro Quiet Collector, Wheel Horse 260-Series Lawn and Garden Tractors, 2002 (220000001-220999999) BAFFLE AND TUBE ASSEMBLY. Wählen Sie das benötigte Ersatzteil aus der Ersatzteilliste Ihres Toro Gerätes aus und bestellen Sie einfach online. Viele Toro Ersatzteile halten wir ständig in unserem Lager für Sie bereit.



