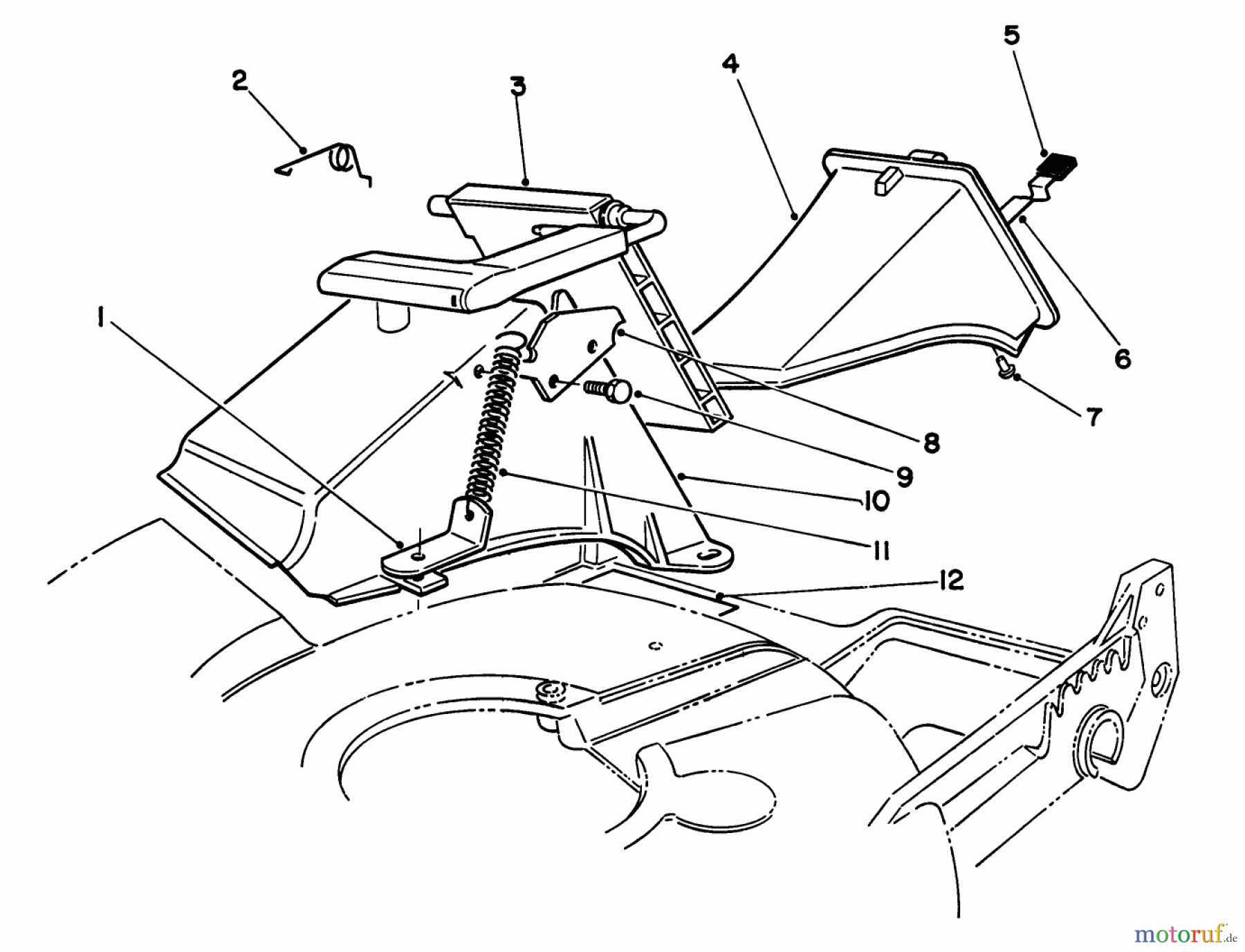
Toro 59174 - Rear Bagging Kit, Recycler Mower (21") DISCHARGE TUNNEL & PLUG ASSEMBLY Ersatzteile
DISCHARGE TUNNEL & PLUG ASSEMBLY 59174 - Toro Rear Bagging Kit, Recycler Mower (21")

Hier finden Sie die Ersatzteilzeichnung für Toro Neu Accessories, Mower 59174 - Toro Rear Bagging Kit, Recycler Mower (21") DISCHARGE TUNNEL & PLUG ASSEMBLY. Wählen Sie das benötigte Ersatzteil aus der Ersatzteilliste Ihres Toro Gerätes aus und bestellen Sie einfach online. Viele Toro Ersatzteile halten wir ständig in unserem Lager für Sie bereit.


Qualitätsmanagement
Informieren Sie uns, wenn Sie einen Fehler gefunden haben.

