Toro 30124 - 32" Soft Bag (3 bu.) for Floating Mid-Size Mowers, 1989 (9000001-9999999) CHUTE & BAG ASSEMBLY Ersatzteile
CHUTE & BAG ASSEMBLY 30124 - Toro 32" Soft Bag (3 bu.) for Floating Mid-Size Mowers, 1989 (9000001-9999999)

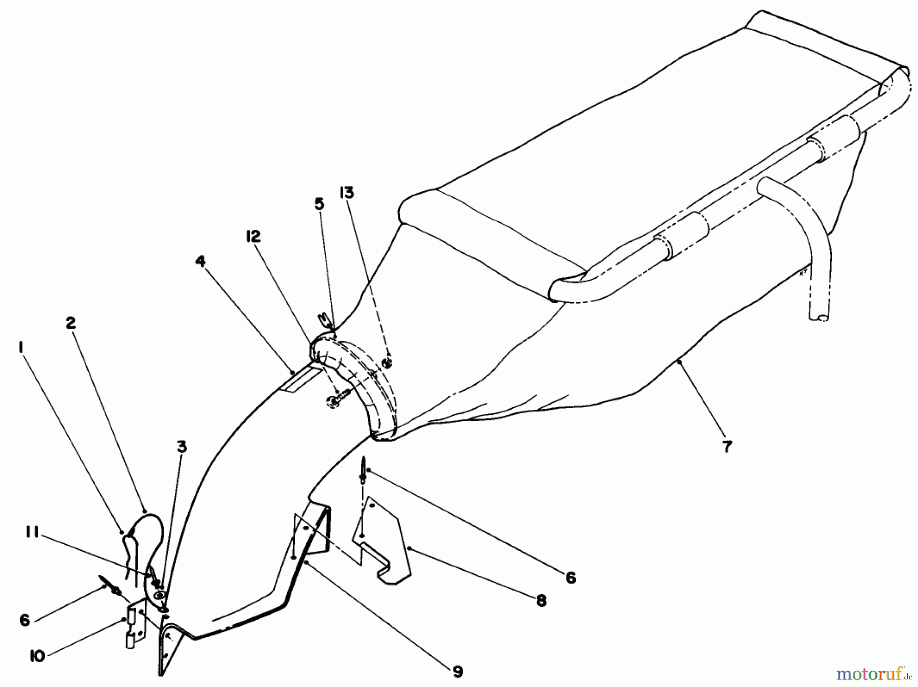
Hier finden Sie die Ersatzteilzeichnung für Toro Neu Accessories, Mower 30124 - Toro 32" Soft Bag (3 bu.) for Floating Mid-Size Mowers, 1989 (9000001-9999999) CHUTE & BAG ASSEMBLY. Wählen Sie das benötigte Ersatzteil aus der Ersatzteilliste Ihres Toro Gerätes aus und bestellen Sie einfach online. Viele Toro Ersatzteile halten wir ständig in unserem Lager für Sie bereit.
| BildNr | Artikel Nummer | Bezeichnung | |
| 1 | TR28-8130 | Stift | |
| 2 | TR28-8070 | Stahlseil | |
| 3 | TR3256-49 | Scheibe | |
| 4 | ![]() | TR93-1122 | DECAL-DANGER |
| 5 | TR67-6690-03 | BAGGER RING | |
| 6 | TR3290-412 | RIVET | |
| 7 | TR67-6580 | BAG ASSEMBLY | |
| 8 | TR33-2090 | Halter F.Trichter | |
| 9 | TR67-6800 | CHUTE ASSEMBLY | |
| 10 | TR28-8050 | Scharnier | |
| 11 | TR3290-282 | Niete | |
| 12 | TR3229-11 | SCREW-CARR | |
| 13 | ![]() | TR3296-42 | Mutter |





