Toro 82008 - Hour Meter, 1985 PARTS LIST FOR HOUR METER FACTORY ORDER NUMBER 82008 Ersatzteile
PARTS LIST FOR HOUR METER FACTORY ORDER NUMBER 82008 82008 - Toro Hour Meter, 1985

Hier finden Sie die Ersatzteilzeichnung für Toro Neu Accessories 82008 - Toro Hour Meter, 1985 PARTS LIST FOR HOUR METER FACTORY ORDER NUMBER 82008. Wählen Sie das benötigte Ersatzteil aus der Ersatzteilliste Ihres Toro Gerätes aus und bestellen Sie einfach online. Viele Toro Ersatzteile halten wir ständig in unserem Lager für Sie bereit.
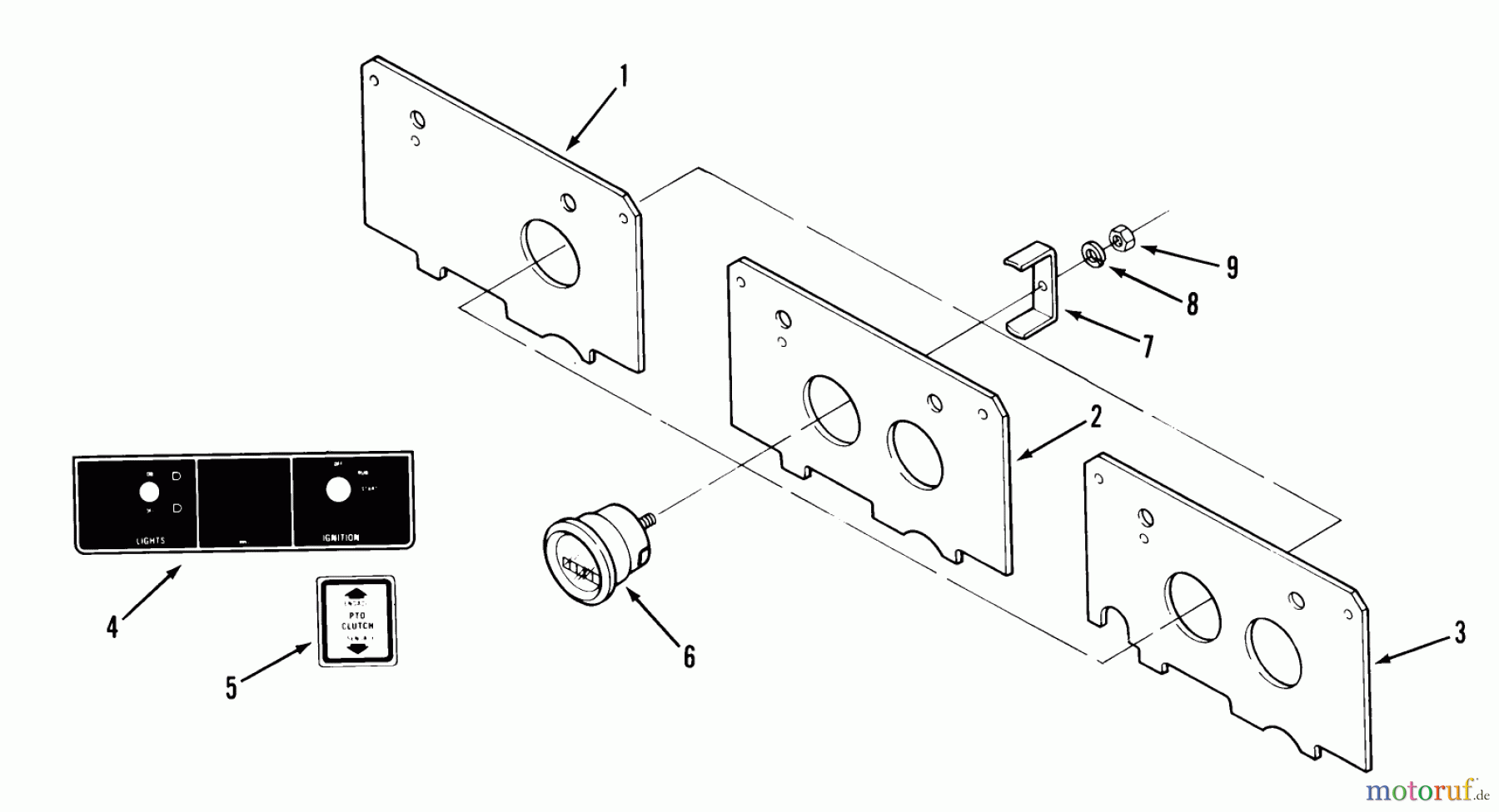
| BildNr | Artikel Nummer | Bezeichnung | |
| 1 | TR109149 | DISCONTINUED | |
| 2 | TR111033 | DISCONTINUED | |
| 3 | TR94-1809-03 | DISCONTINUED | |
| 4 | TR109522 | DISCONTINUED | |
| 5 | TR106718 | DISCONTINUED | |
| 6 | TR113469 | GAUGE-HOURMETER | |
| 7 | TR108768 | DISCONTINUED | |
| 8 | TR3255-17 | Federring | |
| 9 | TR3217-26 | Mutter | |


Qualitätsmanagement
Informieren Sie uns, wenn Sie einen Fehler gefunden haben.

