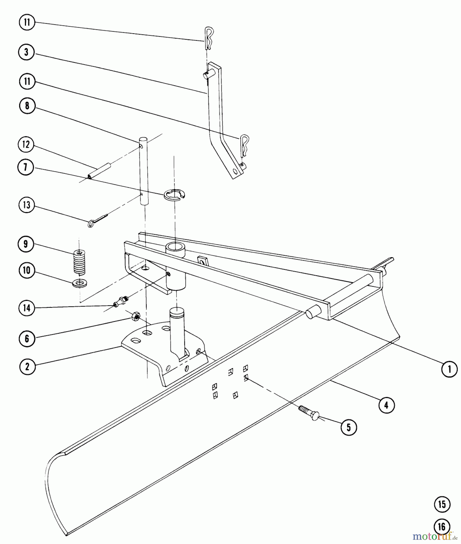
Toro 7-1111 - 40" Grader Blade, 1968 MID MOUNTED GRADER BLADE MODEL 7-1111 (FORMERLY MB-405) Ersatzteile
MID MOUNTED GRADER BLADE MODEL 7-1111 (FORMERLY MB-405) 7-1111 - Toro 40" Grader Blade, 1968

Hier finden Sie die Ersatzteilzeichnung für Toro Neu Accessories 7-1111 - Toro 40" Grader Blade, 1968 MID MOUNTED GRADER BLADE MODEL 7-1111 (FORMERLY MB-405). Wählen Sie das benötigte Ersatzteil aus der Ersatzteilliste Ihres Toro Gerätes aus und bestellen Sie einfach online. Viele Toro Ersatzteile halten wir ständig in unserem Lager für Sie bereit.
| BildNr | Artikel Nummer | Bezeichnung | |
| 1 | TR5671 | ||
| 2 | TR5675 | ||
| 3 | TR5678 | DISCONTINUED | |
| 4 | TR5680 | DISCONTINUED | |
| 5 | TR900063-4 | ||
| 6 | TR32-9639 | ||
| 7 | TR5700 | E RING | |
| 8 | TR5682 | ||
| 9 | TR5683 | ||
| 10 | TR920013-4 | ||
| 11 | TR933504 | HAARNADELSICHERUNG (10) | |
| 12 | TR933223 | DISCONTINUED | |
| 13 | TR9320174 | COTTER PIN 1/8 X 1 | |
| 14 | TR1030 | FETTNIPPEL (10) | |
| 15 | TR5684 | ||
| 16 | TR83-3410 | DECAL-SIDE TRIM | |


Qualitätsmanagement
Informieren Sie uns, wenn Sie einen Fehler gefunden haben.

