Tanaka TBC-340D - Grass Trimmer / Brush Cutter Gear Case, Safety Guard Ersatzteile
Gear Case, Safety Guard TBC-340D - Tanaka Grass Trimmer / Brush Cutter

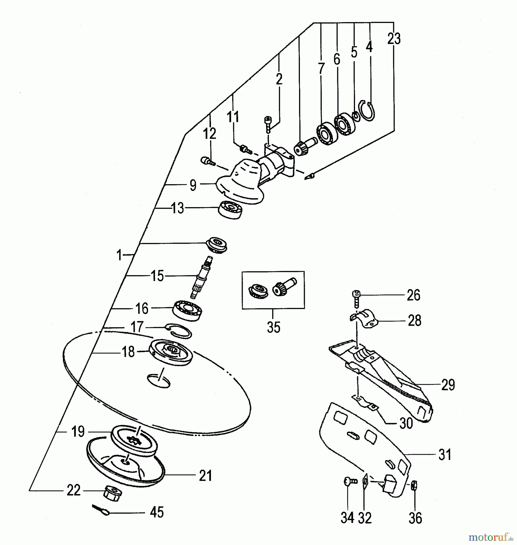
Hier finden Sie die Ersatzteilzeichnung für Tanaka Trimmer, Motorsensen TBC-340D - Tanaka Grass Trimmer / Brush Cutter Gear Case, Safety Guard. Wählen Sie das benötigte Ersatzteil aus der Ersatzteilliste Ihres Tanaka Gerätes aus und bestellen Sie einfach online. Viele Tanaka Ersatzteile halten wir ständig in unserem Lager für Sie bereit.
Häufig benötigte Tanaka TBC-340D - Grass Trimmer / Brush Cutter Gear Case, Safety Guard Ersatzteile


Qualitätsmanagement
Informieren Sie uns, wenn Sie einen Fehler gefunden haben.







