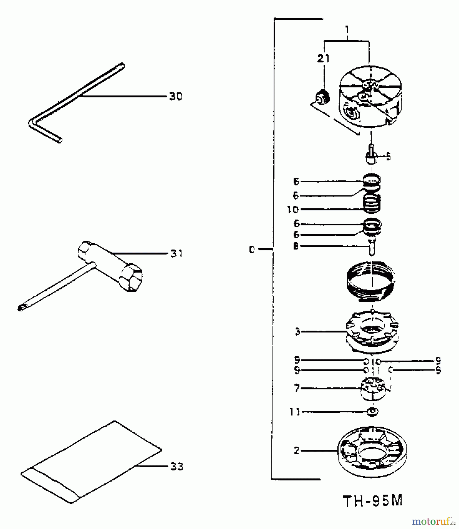
Tanaka TBC-300 - Brush Cutter Tools & Nylon Head - TH-95M Ersatzteile
Tools & Nylon Head - TH-95M TBC-300 - Tanaka Brush Cutter

Hier finden Sie die Ersatzteilzeichnung für Tanaka Trimmer, Motorsensen TBC-300 - Tanaka Brush Cutter Tools & Nylon Head - TH-95M. Wählen Sie das benötigte Ersatzteil aus der Ersatzteilliste Ihres Tanaka Gerätes aus und bestellen Sie einfach online. Viele Tanaka Ersatzteile halten wir ständig in unserem Lager für Sie bereit.
Häufig benötigte Tanaka TBC-300 - Brush Cutter Tools & Nylon Head - TH-95M Ersatzteile

Artikelnummer: 669-3327
Suche nach: 669-3327
Hersteller: Tanaka
Tanaka Ersatzteil Tools & Nylon Head - TH-95M
Suche nach: 669-3327
Hersteller: Tanaka
Tanaka Ersatzteil Tools & Nylon Head - TH-95M
2.29 €
für EU incl. MwSt., zzgl. Versand


Qualitätsmanagement
Informieren Sie uns, wenn Sie einen Fehler gefunden haben.



