Tanaka TBC-230B - Grass Trimmer Cutting Head & Tools B001001~ Ersatzteile
Cutting Head & Tools B001001~ TBC-230B - Tanaka Grass Trimmer

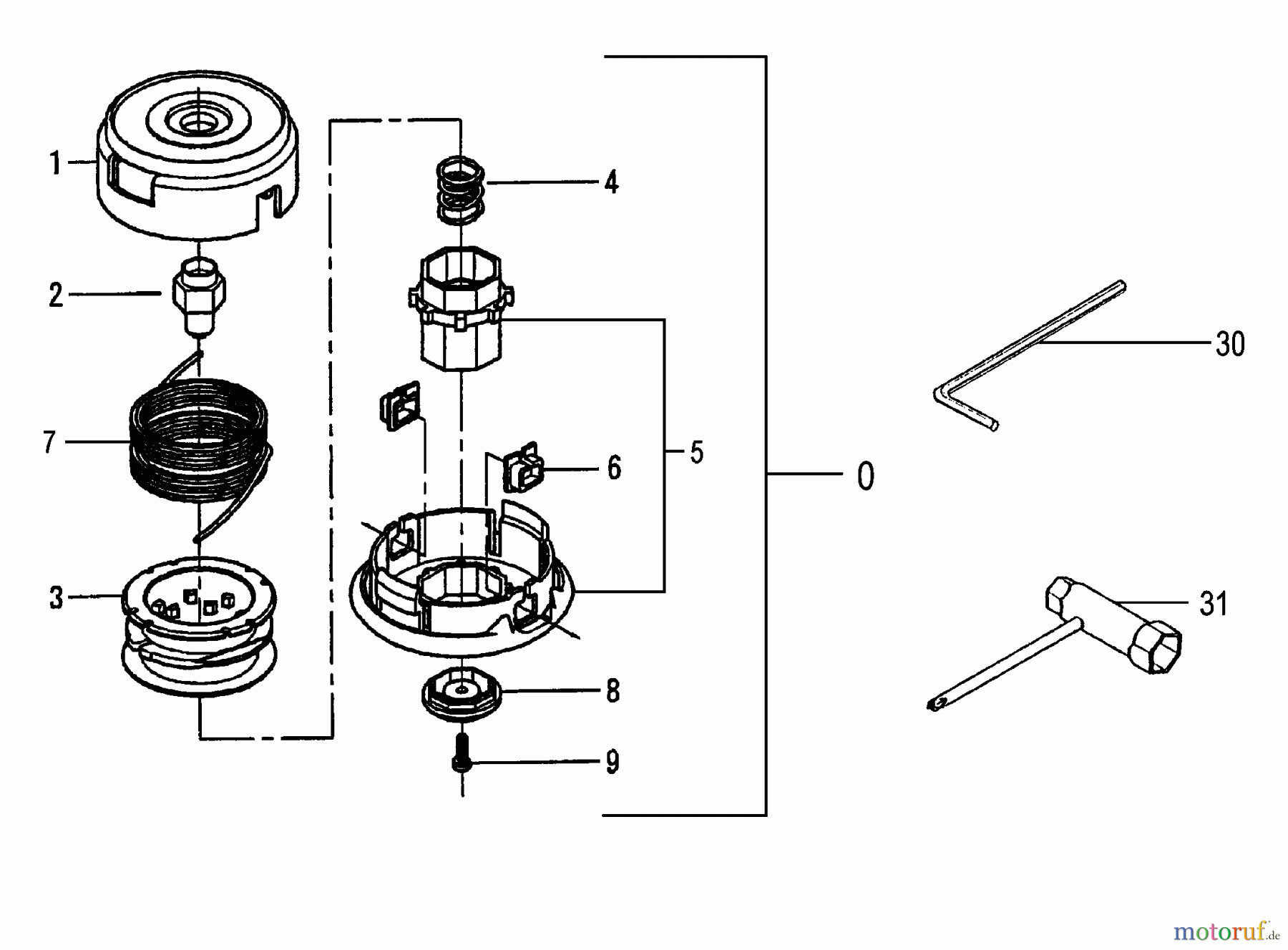
Hier finden Sie die Ersatzteilzeichnung für Tanaka Trimmer, Motorsensen TBC-230B - Tanaka Grass Trimmer Cutting Head & Tools B001001~. Wählen Sie das benötigte Ersatzteil aus der Ersatzteilliste Ihres Tanaka Gerätes aus und bestellen Sie einfach online. Viele Tanaka Ersatzteile halten wir ständig in unserem Lager für Sie bereit.


Qualitätsmanagement
Informieren Sie uns, wenn Sie einen Fehler gefunden haben.

