Tanaka TBC-202 - Trimmer / Brush Cutter Tools & Nylon Head Ersatzteile
Tools & Nylon Head TBC-202 - Tanaka Trimmer / Brush Cutter

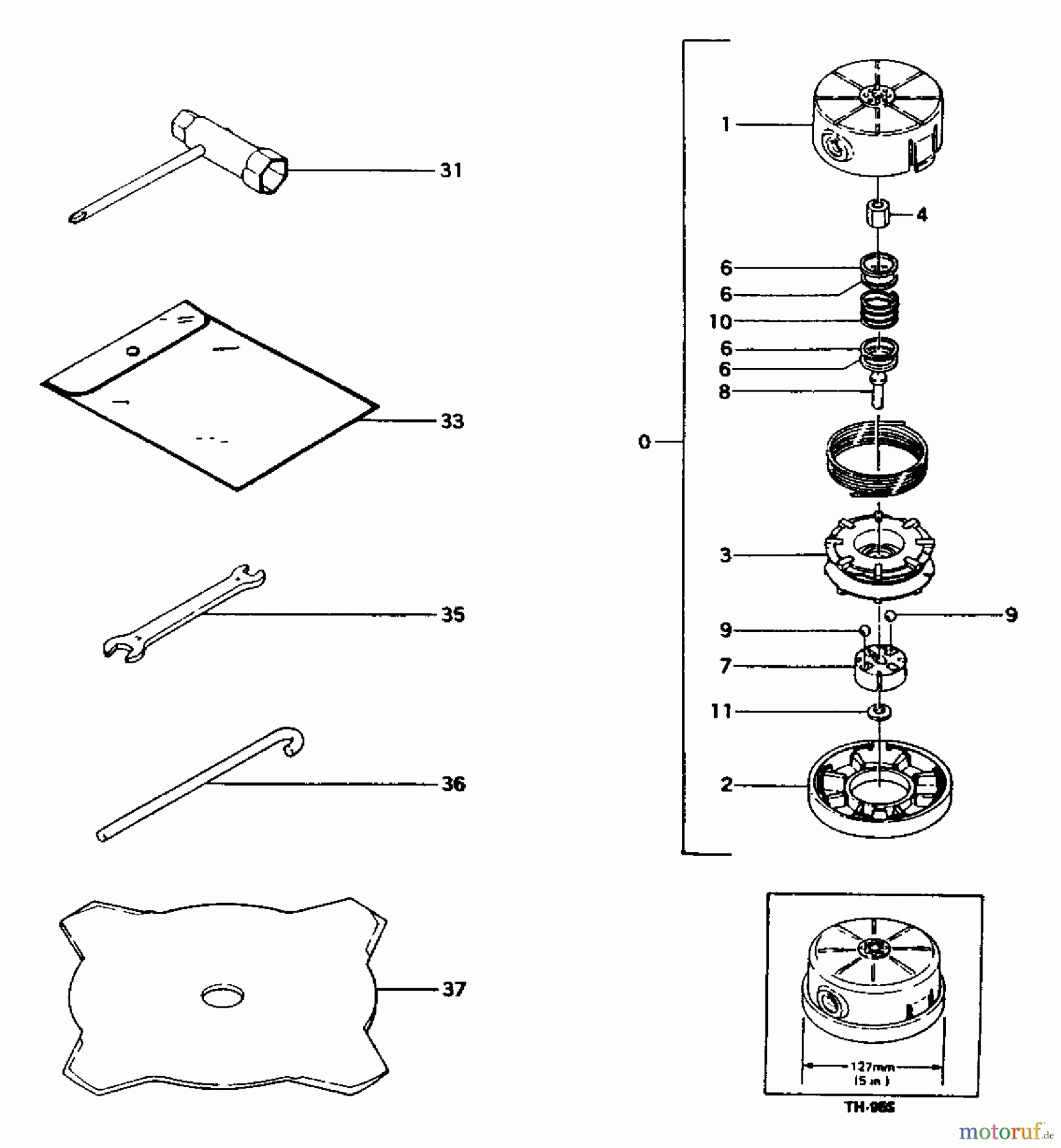
Hier finden Sie die Ersatzteilzeichnung für Tanaka Trimmer, Motorsensen TBC-202 - Tanaka Trimmer / Brush Cutter Tools & Nylon Head. Wählen Sie das benötigte Ersatzteil aus der Ersatzteilliste Ihres Tanaka Gerätes aus und bestellen Sie einfach online. Viele Tanaka Ersatzteile halten wir ständig in unserem Lager für Sie bereit.
| BildNr | Artikel Nummer | Bezeichnung | |
| 0 | 746751 | ||
| 0 | 78333004901 | ||
| 1 | 78633004800 | ||
| 1 | 78633004801 | ||
| 2 | 669-3332 | Deckel Fadenkopf TH95 | |
| 3 | ![]() | 669-3282 | Fadenspule . |
| 3 | 78733004202 | ||
| 4 | 31533438200 | ||
| 6 | 669-3362 | Druckscheibe . | |
| 7 | 669-3357 | Gleitstueck . | |
| 8 | 669-3360 | Achse . | |
| 9 | 669-2271 | Kugel 5/16 . | |
| 10 | 6693368 | ||
| 11 | 668-9637 | Kupplungsscheibe siehe TB | |
| 31 | 669-3588 | Kombibox | |
| 33 | 6694812 | ||
| 35 | 668-4766 | Maulschluessel 8x10 . | |
| 36 | 6692897 | ||
| 37 | 80233701200 | ||
| 37 | 80233410200 | ||


Qualitätsmanagement
Informieren Sie uns, wenn Sie einen Fehler gefunden haben.


