Tanaka AST-7000S - AutoStart Brush Cutter Tools & Nylon Head TH-95M Ersatzteile
Tools & Nylon Head TH-95M AST-7000S - Tanaka AutoStart Brush Cutter

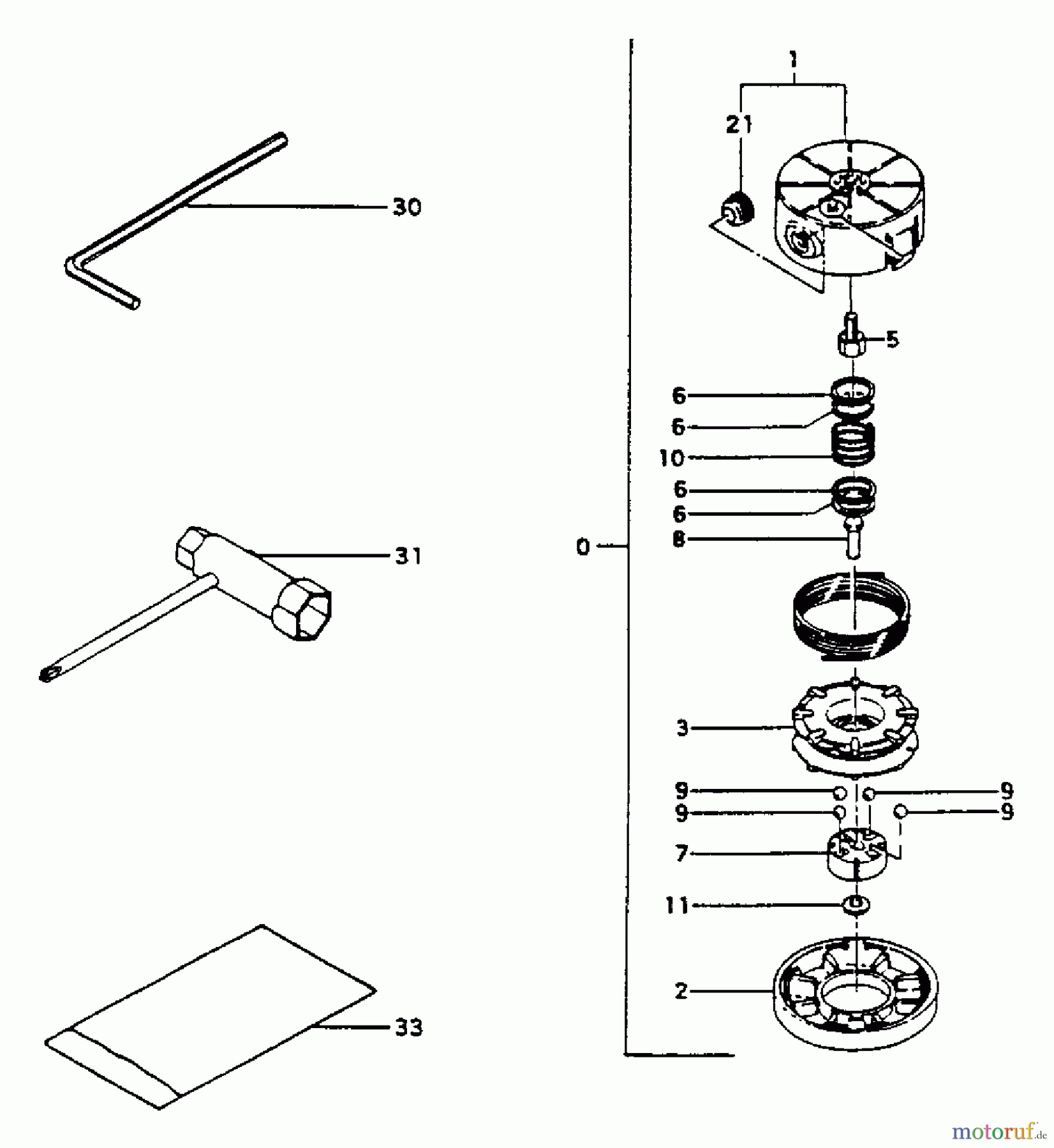
Hier finden Sie die Ersatzteilzeichnung für Tanaka Trimmer, Motorsensen AST-7000S - Tanaka AutoStart Brush Cutter Tools & Nylon Head TH-95M. Wählen Sie das benötigte Ersatzteil aus der Ersatzteilliste Ihres Tanaka Gerätes aus und bestellen Sie einfach online. Viele Tanaka Ersatzteile halten wir ständig in unserem Lager für Sie bereit.





