Tanaka EHC-120 - Cut-Off Saw Carburetor Ersatzteile
Carburetor EHC-120 - Tanaka Cut-Off Saw

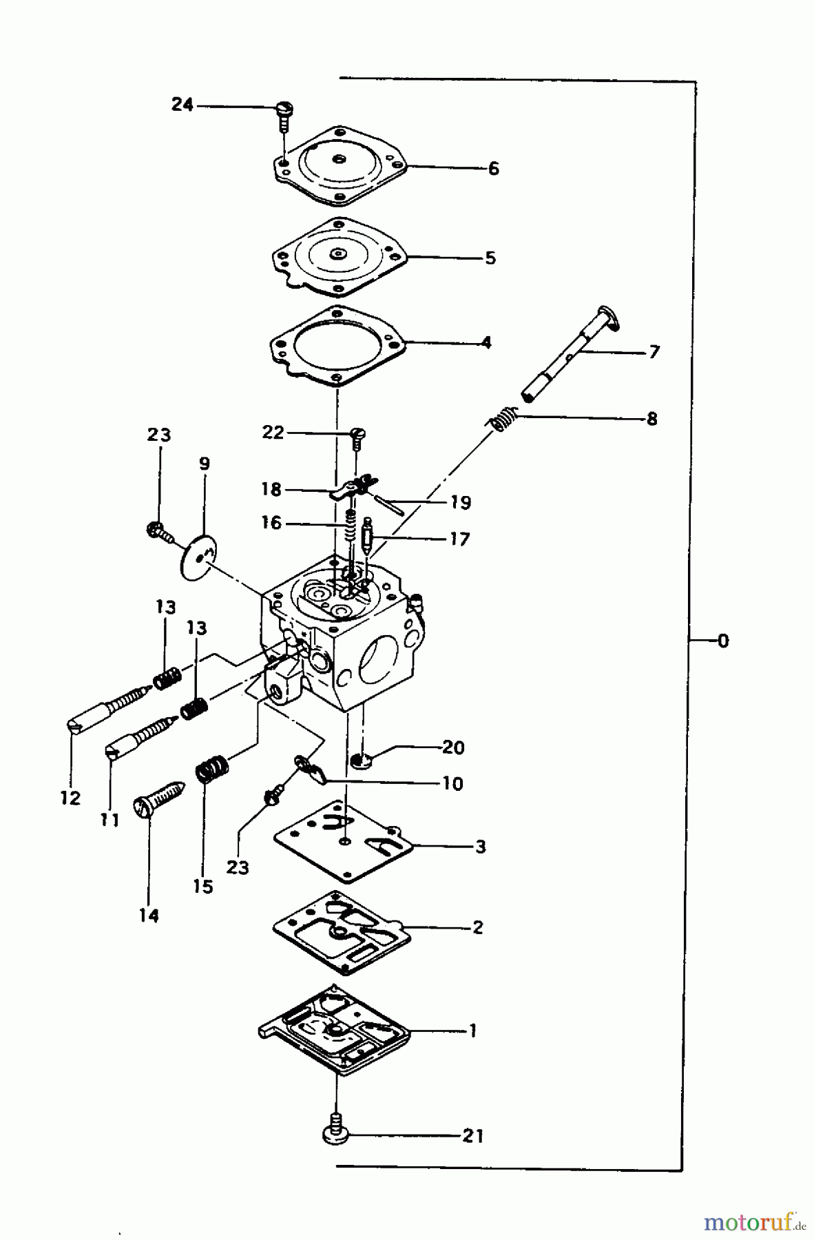
Hier finden Sie die Ersatzteilzeichnung für Tanaka Kappsägen EHC-120 - Tanaka Cut-Off Saw Carburetor. Wählen Sie das benötigte Ersatzteil aus der Ersatzteilliste Ihres Tanaka Gerätes aus und bestellen Sie einfach online. Viele Tanaka Ersatzteile halten wir ständig in unserem Lager für Sie bereit.
| BildNr | Artikel Nummer | Bezeichnung | |
| 0 | 45525012902 | ||
| 0 | 6690591 | ||
| 1 | 669-1420 | Pumpenkoerper TBC500 | |
| 2 | |||
| 3 | |||
| 4 | |||
| 5 | |||
| 6 | 669-0858 | Membrangehaeuse . | |
| 7 | 6690769 | ||
| 8 | 669-0909 | Feder . | |
| 9 | 669-0921 | Scheibe TBC500 | |
| 10 | 669-1334 | Anschlag TBC500 | |
| 11 | 6690687 | ||
| 11 | 6690693 | ||
| 12 | 46125012210 | ||
| 12 | 4612503620 | ||
| 13 | 669-2047 | Duesenfeder THT262,s.TB. | |
| 14 | 668-5298 | Einstellschraube ECS3351,s.TB. | |
| 15 | 669-0766 | Feder TBC500,TBC355SDH, siehe | |
| 16 | 669-0869 | Feder . | |
| 17 | |||
| 18 | |||
| 19 | |||
| 20 | |||
| 21 | 51425012200 | ||
| 22 | 54625001200 | ||
| 23 | 669-0793 | Schraube TBC500,TBC355SDH,s. | |
| 24 | 668-5223 | Schraube TBC355SDH,s.TB. | |


Qualitätsmanagement
Informieren Sie uns, wenn Sie einen Fehler gefunden haben.

