Tanaka ECS-650 - Chainsaw Cleaner & Carburetor Ersatzteile
Cleaner & Carburetor ECS-650 - Tanaka Chainsaw

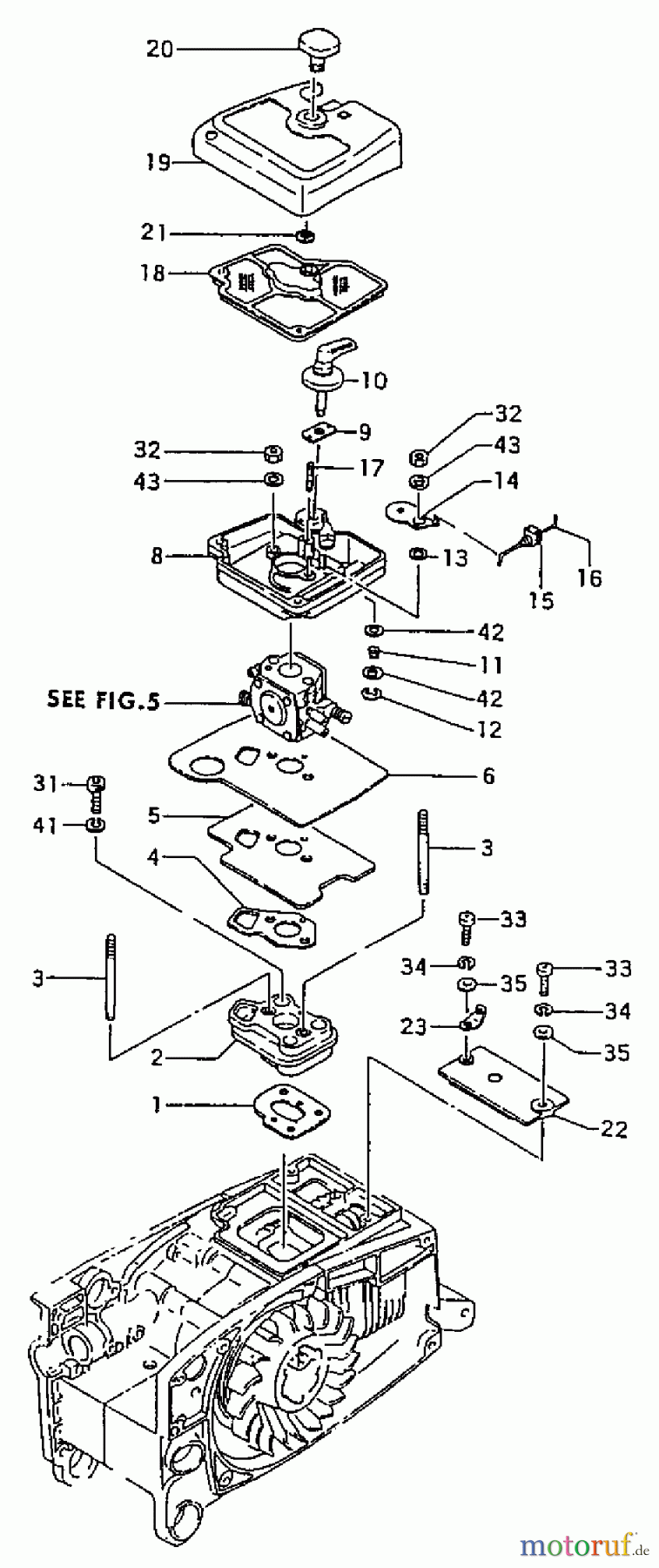
Hier finden Sie die Ersatzteilzeichnung für Tanaka Motorsägen ECS-650 - Tanaka Chainsaw Cleaner & Carburetor. Wählen Sie das benötigte Ersatzteil aus der Ersatzteilliste Ihres Tanaka Gerätes aus und bestellen Sie einfach online. Viele Tanaka Ersatzteile halten wir ständig in unserem Lager für Sie bereit.



