Tanaka TPK-470GS - 47cc Paveracer Kart Cylinder, Piston Ersatzteile
Cylinder, Piston TPK-470GS - Tanaka 47cc Paveracer Kart

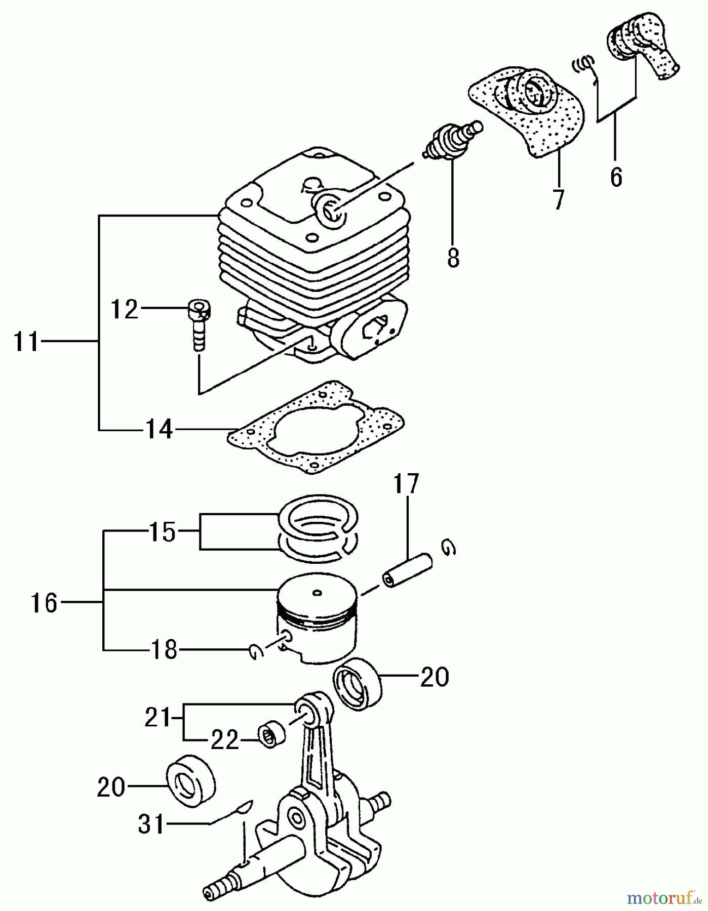
Hier finden Sie die Ersatzteilzeichnung für Tanaka Sonstiges TPK-470GS - Tanaka 47cc Paveracer Kart Cylinder, Piston. Wählen Sie das benötigte Ersatzteil aus der Ersatzteilliste Ihres Tanaka Gerätes aus und bestellen Sie einfach online. Viele Tanaka Ersatzteile halten wir ständig in unserem Lager für Sie bereit.


Qualitätsmanagement
Informieren Sie uns, wenn Sie einen Fehler gefunden haben.


