Tanaka PB-SM805 - Electric PowerBoard Stem Ersatzteile
Stem PB-SM805 - Tanaka Electric PowerBoard

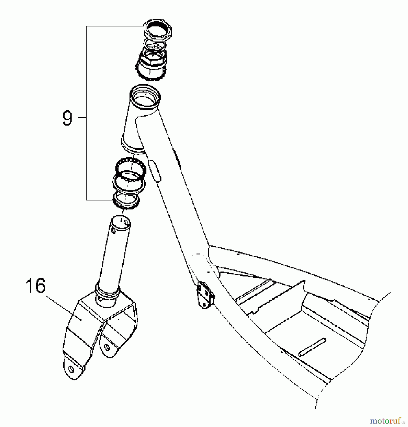
Hier finden Sie die Ersatzteilzeichnung für Tanaka Sonstiges PB-SM805 - Tanaka Electric PowerBoard Stem. Wählen Sie das benötigte Ersatzteil aus der Ersatzteilliste Ihres Tanaka Gerätes aus und bestellen Sie einfach online. Viele Tanaka Ersatzteile halten wir ständig in unserem Lager für Sie bereit.
| BildNr | Artikel Nummer | Bezeichnung | |
| 9 | Tecumseh 31204 | ||
| 16 | Tecumseh 31205 | ||



