Tanaka PB-SM805 - Electric PowerBoard Motor & Small Gear Ersatzteile
Motor & Small Gear PB-SM805 - Tanaka Electric PowerBoard

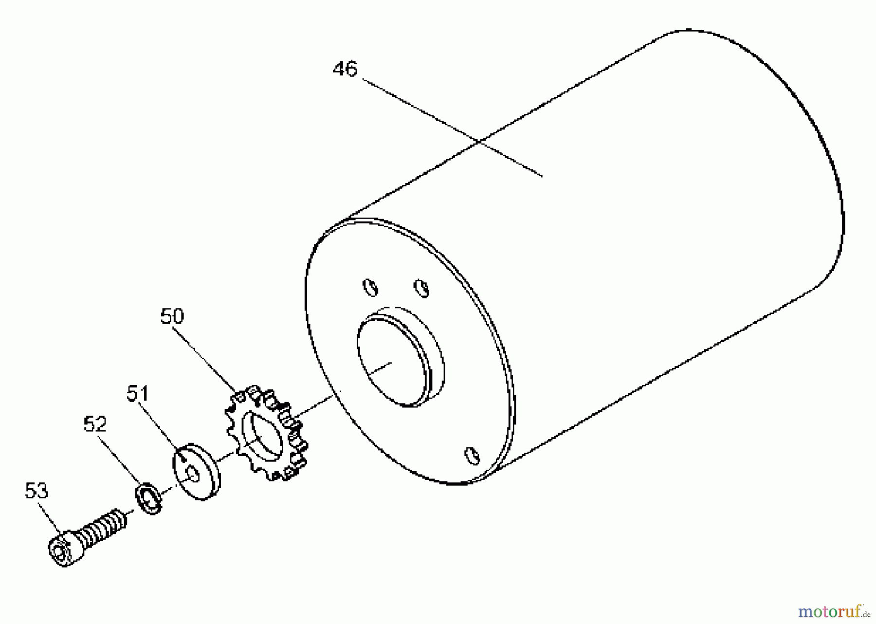
Hier finden Sie die Ersatzteilzeichnung für Tanaka Sonstiges PB-SM805 - Tanaka Electric PowerBoard Motor & Small Gear. Wählen Sie das benötigte Ersatzteil aus der Ersatzteilliste Ihres Tanaka Gerätes aus und bestellen Sie einfach online. Viele Tanaka Ersatzteile halten wir ständig in unserem Lager für Sie bereit.
| BildNr | Artikel Nummer | Bezeichnung | |
| 46 | Tecumseh 31184 | ||
| 50 | Tecumseh 31185 | ||
| 51 | Tecumseh 31186 | ||
| 52 | Tecumseh 31121 | ||
| 53 | Tecumseh 31856A | ||


Qualitätsmanagement
Informieren Sie uns, wenn Sie einen Fehler gefunden haben.

