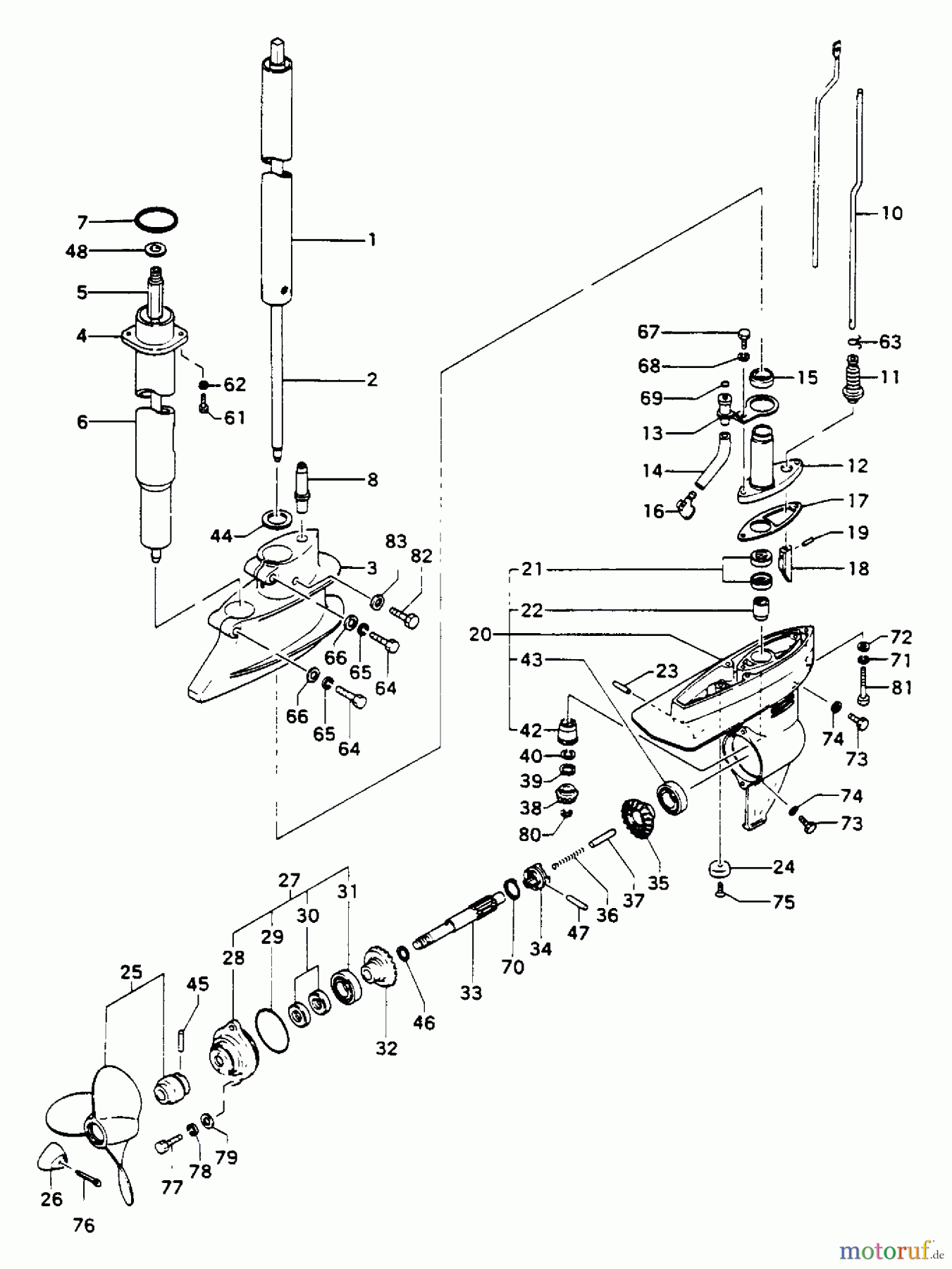
Tanaka TOB-550 - 5.5HP Outboard Motor Lower Gear Case & Propeller Ersatzteile
Lower Gear Case & Propeller TOB-550 - Tanaka 5.5HP Outboard Motor

Hier finden Sie die Ersatzteilzeichnung für Tanaka Botsmotoren TOB-550 - Tanaka 5.5HP Outboard Motor Lower Gear Case & Propeller. Wählen Sie das benötigte Ersatzteil aus der Ersatzteilliste Ihres Tanaka Gerätes aus und bestellen Sie einfach online. Viele Tanaka Ersatzteile halten wir ständig in unserem Lager für Sie bereit.


Qualitätsmanagement
Informieren Sie uns, wenn Sie einen Fehler gefunden haben.

