Tanaka TOB-175 - 1.75HP Outboard Motor Engine Ersatzteile
Engine TOB-175 - Tanaka 1.75HP Outboard Motor

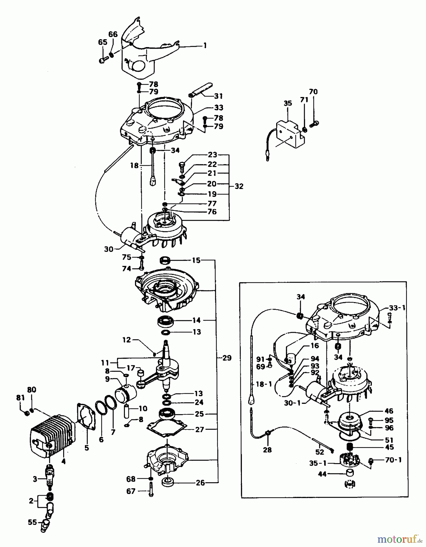
Hier finden Sie die Ersatzteilzeichnung für Tanaka Botsmotoren TOB-175 - Tanaka 1.75HP Outboard Motor Engine. Wählen Sie das benötigte Ersatzteil aus der Ersatzteilliste Ihres Tanaka Gerätes aus und bestellen Sie einfach online. Viele Tanaka Ersatzteile halten wir ständig in unserem Lager für Sie bereit.


Qualitätsmanagement
Informieren Sie uns, wenn Sie einen Fehler gefunden haben.


