Tanaka TC-47R - Utility / Scooter Engine Cylinder, Piston Ersatzteile
Cylinder, Piston TC-47R - Tanaka Utility / Scooter Engine

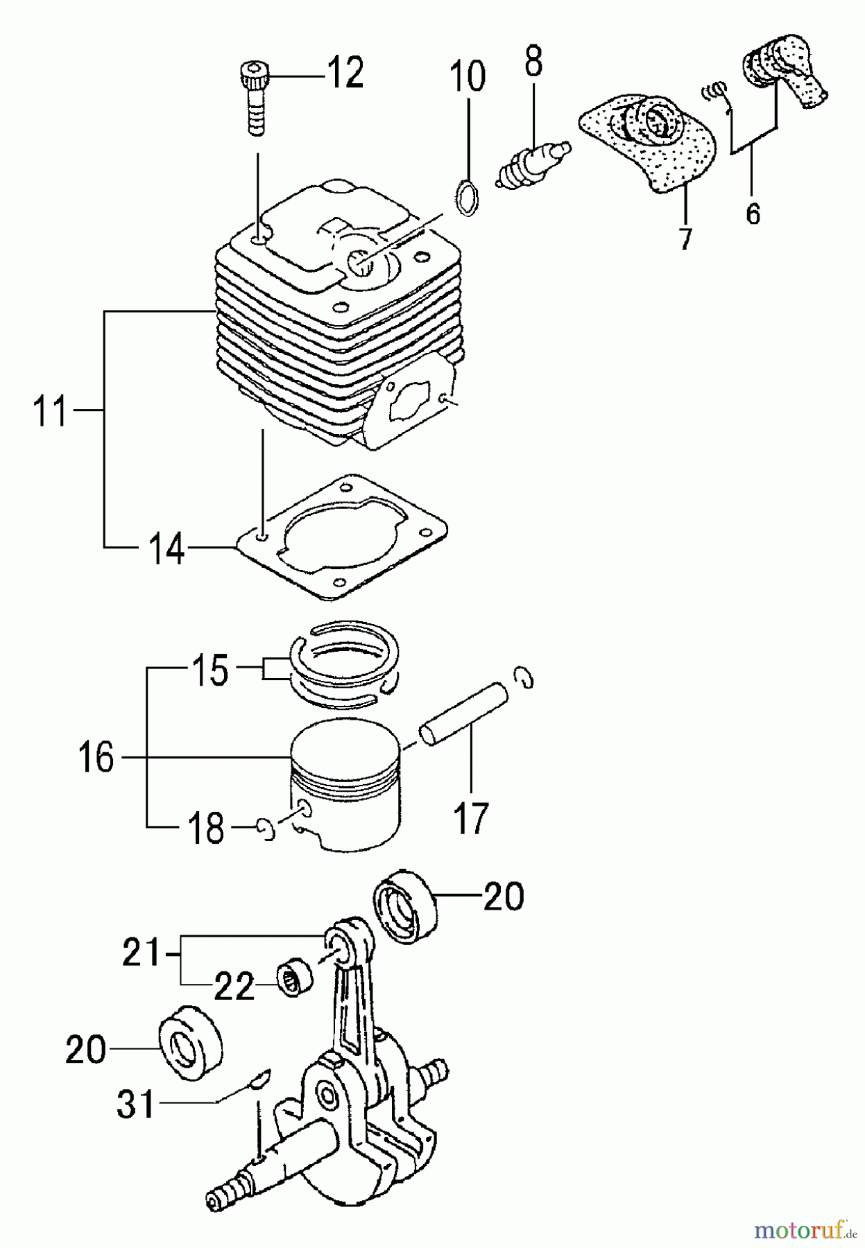
Hier finden Sie die Ersatzteilzeichnung für Tanaka Motoren TC-47R - Tanaka Utility / Scooter Engine Cylinder, Piston. Wählen Sie das benötigte Ersatzteil aus der Ersatzteilliste Ihres Tanaka Gerätes aus und bestellen Sie einfach online. Viele Tanaka Ersatzteile halten wir ständig in unserem Lager für Sie bereit.


Qualitätsmanagement
Informieren Sie uns, wenn Sie einen Fehler gefunden haben.


