Tanaka TPE-260PF - Portable Edger Carburetor Ersatzteile
Carburetor TPE-260PF - Tanaka Portable Edger

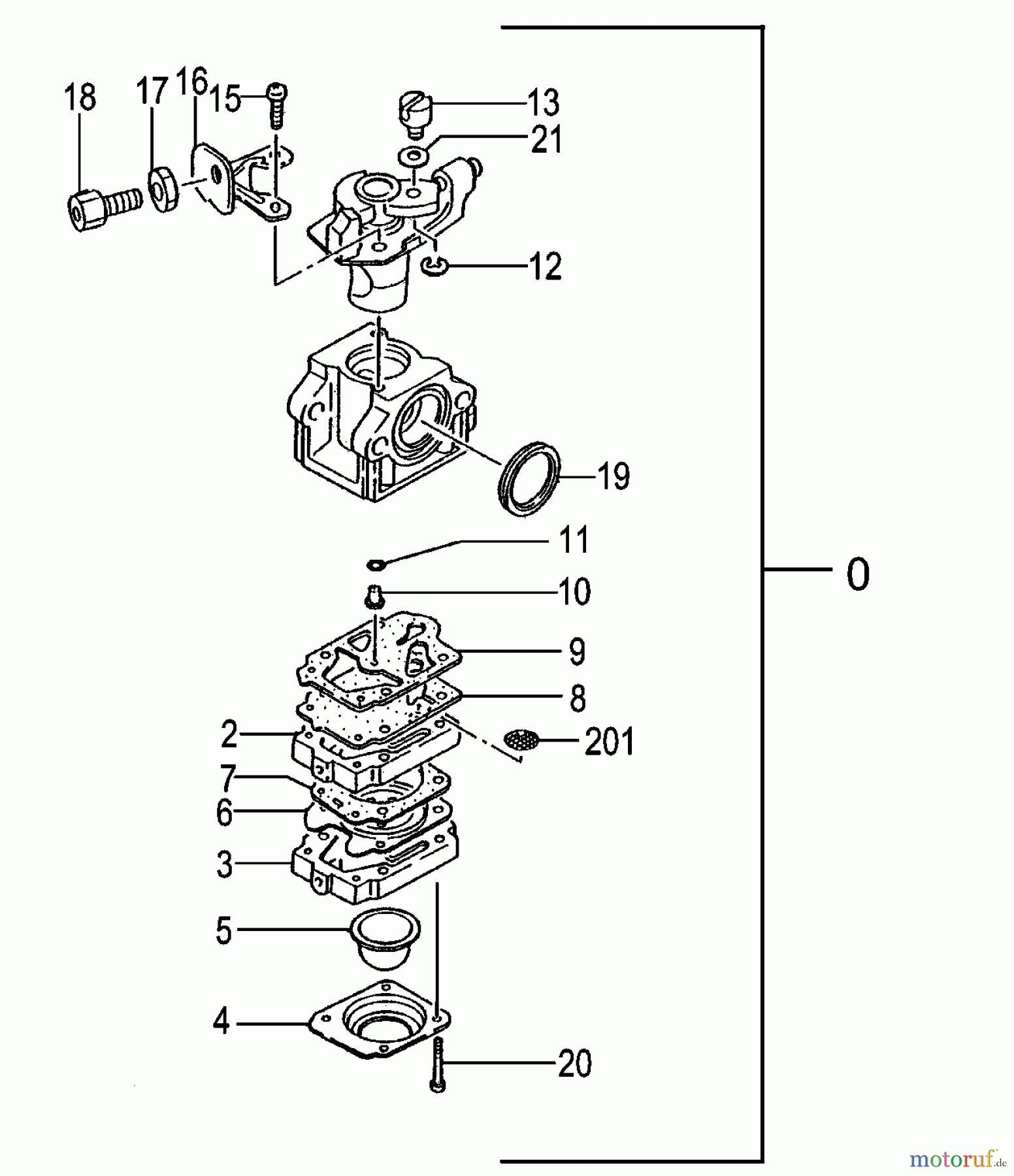
Hier finden Sie die Ersatzteilzeichnung für Tanaka Kantenschneider TPE-260PF - Tanaka Portable Edger Carburetor. Wählen Sie das benötigte Ersatzteil aus der Ersatzteilliste Ihres Tanaka Gerätes aus und bestellen Sie einfach online. Viele Tanaka Ersatzteile halten wir ständig in unserem Lager für Sie bereit.




