Tanaka TED-260 - Engine Drill Handle Ersatzteile
Handle TED-260 - Tanaka Engine Drill

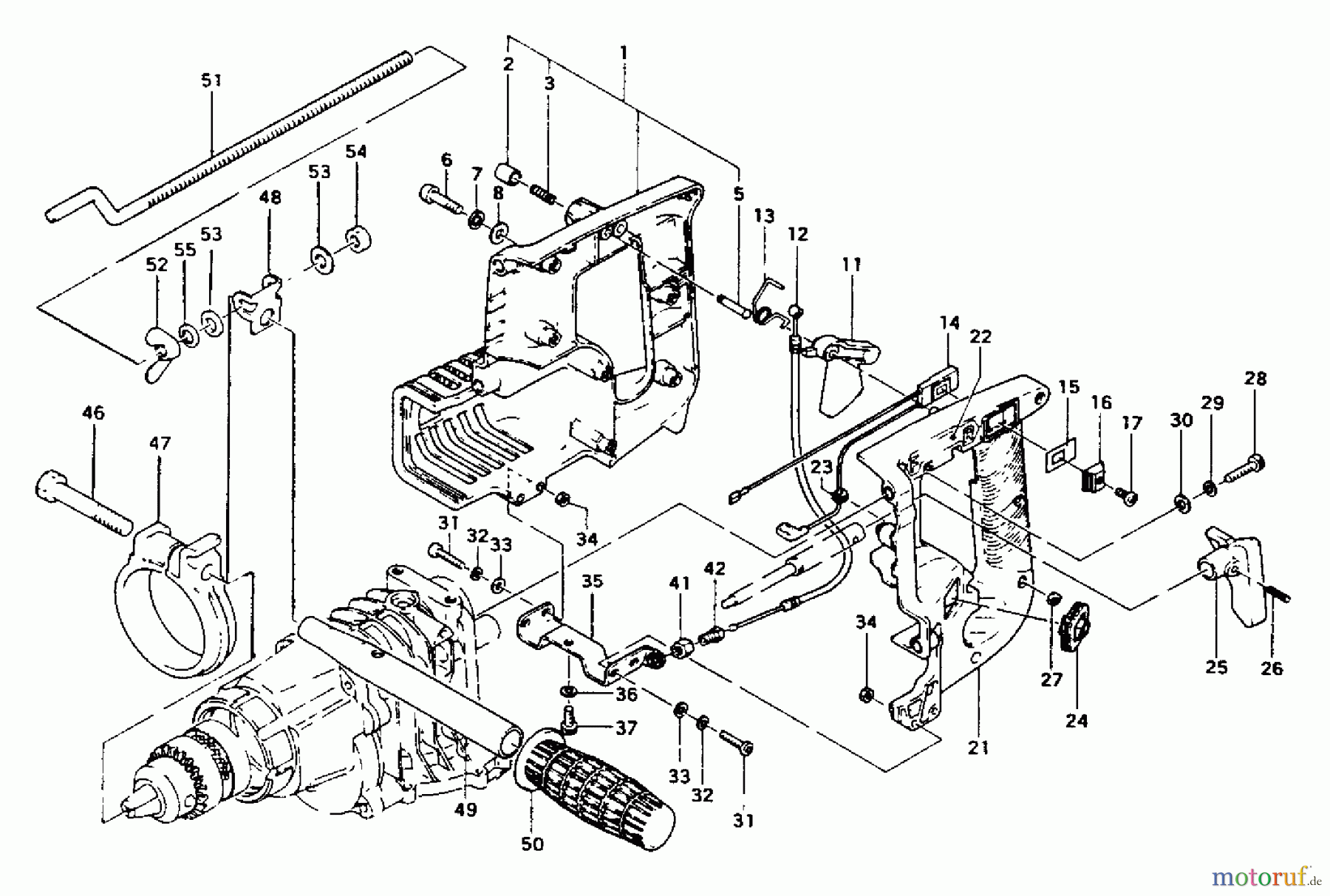
Hier finden Sie die Ersatzteilzeichnung für Tanaka Erdbohrer TED-260 - Tanaka Engine Drill Handle. Wählen Sie das benötigte Ersatzteil aus der Ersatzteilliste Ihres Tanaka Gerätes aus und bestellen Sie einfach online. Viele Tanaka Ersatzteile halten wir ständig in unserem Lager für Sie bereit.





