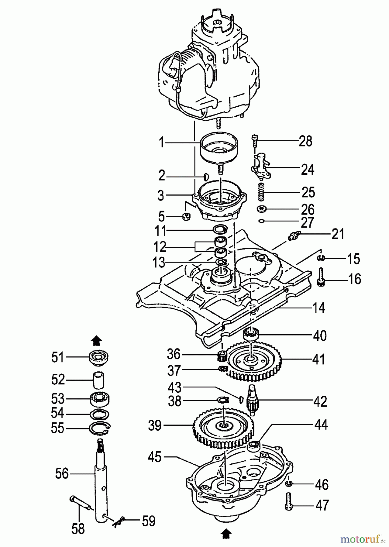
Tanaka TEA-500 - Power Auger Gear Case Ersatzteile
Gear Case TEA-500 - Tanaka Power Auger

Hier finden Sie die Ersatzteilzeichnung für Tanaka Erdbohrer TEA-500 - Tanaka Power Auger Gear Case. Wählen Sie das benötigte Ersatzteil aus der Ersatzteilliste Ihres Tanaka Gerätes aus und bestellen Sie einfach online. Viele Tanaka Ersatzteile halten wir ständig in unserem Lager für Sie bereit.





