Tanaka TBC-SF - Smart Fit Attachments Smartfit, Power Sweeper (Shaft) Ersatzteile
Smartfit, Power Sweeper (Shaft) TBC-SF - Tanaka Smart Fit Attachments

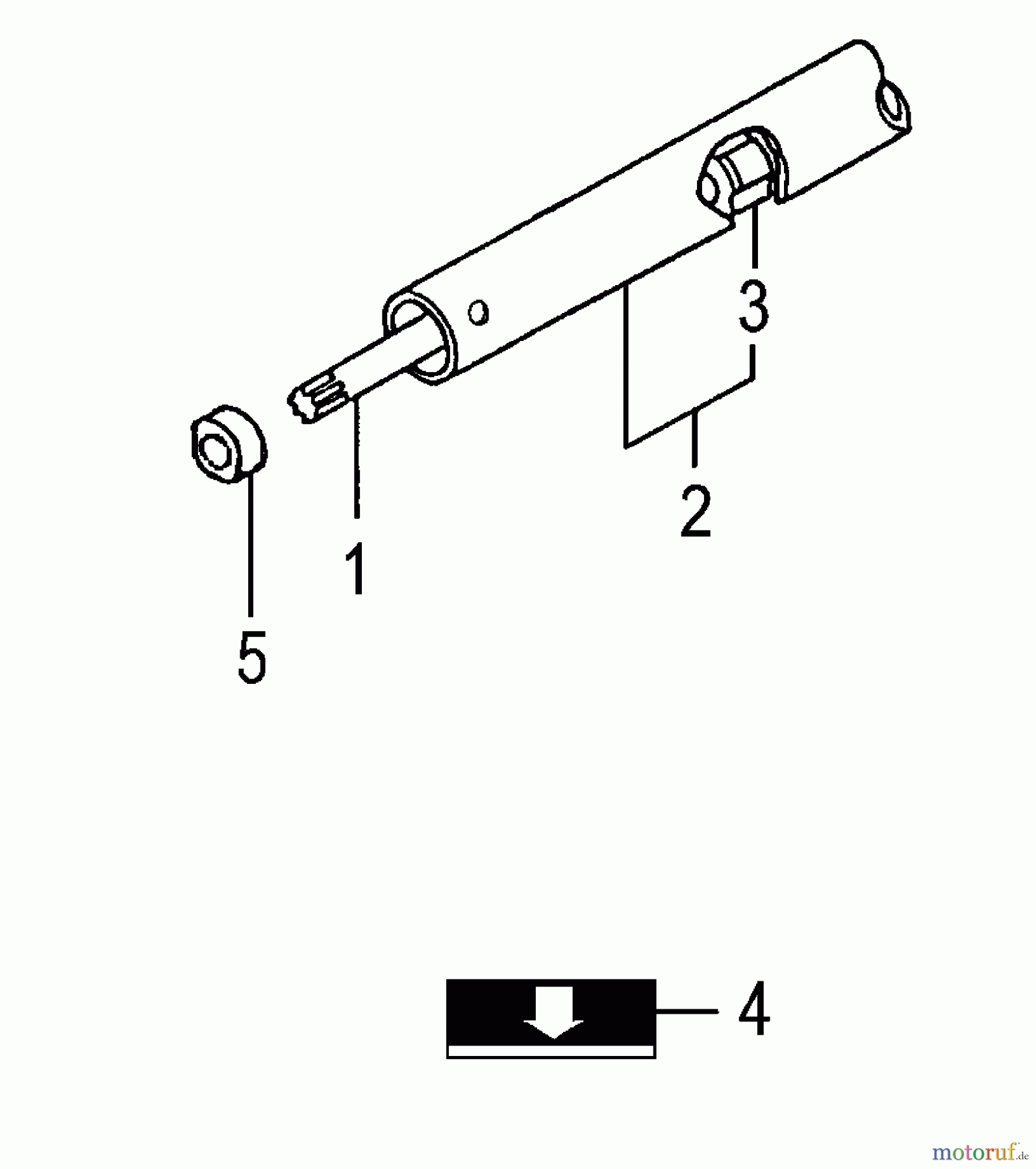
Hier finden Sie die Ersatzteilzeichnung für Tanaka Zubehör TBC-SF - Tanaka Smart Fit Attachments Smartfit, Power Sweeper (Shaft). Wählen Sie das benötigte Ersatzteil aus der Ersatzteilliste Ihres Tanaka Gerätes aus und bestellen Sie einfach online. Viele Tanaka Ersatzteile halten wir ständig in unserem Lager für Sie bereit.
| BildNr | Artikel Nummer | Bezeichnung | |
| 1 | 668-4832 | Antriebswelle SF | |
| 2 | 6689414 | ||
| 3 | 668-4831 | Lagerbuchse SF | |
| 4 | 669-4580 | Typenschild . | |
| 5 | 668-4833 | Lagerbuchse SF | |



