Snapper 211SST - 21.2cc Straight Shaft Trimmer, Series 1 Handle & Handle Mount Ersatzteile
Handle & Handle Mount 211SST - Snapper 21.2cc Straight Shaft Trimmer, Series 1

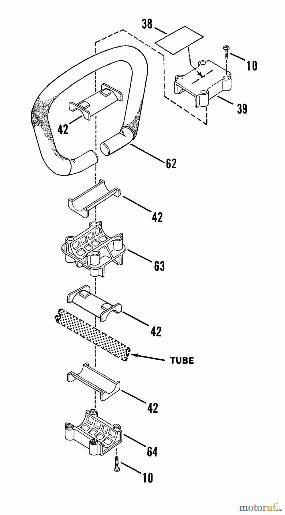
Hier finden Sie die Ersatzteilzeichnung für Snapper Trimmer, Motorsensen 211SST - Snapper 21.2cc Straight Shaft Trimmer, Series 1 Handle & Handle Mount. Wählen Sie das benötigte Ersatzteil aus der Ersatzteilliste Ihres Snapper Gerätes aus und bestellen Sie einfach online. Viele Snapper Ersatzteile halten wir ständig in unserem Lager für Sie bereit.
| BildNr | Artikel Nummer | Bezeichnung | |
| 10 | BS7090902YP | PHST, Sternantrieb, #10-16 X3 | |
| 38 | BS7015984YP | DECAL ## | |
| 39 | BS7051738 | ||
| 42 | BS7015739 | ||
| 62 | BS7051671 | ||
| 63 | BS7017001 | ||
| 64 | BS7018909 | ||


Qualitätsmanagement
Informieren Sie uns, wenn Sie einen Fehler gefunden haben.

