Snapper G55000 (1668-0) - 5500 Watt Generator, 10 HP CONTROL PANEL Ersatzteile
CONTROL PANEL G55000 (1668-0) - Snapper 5500 Watt Generator, 10 HP

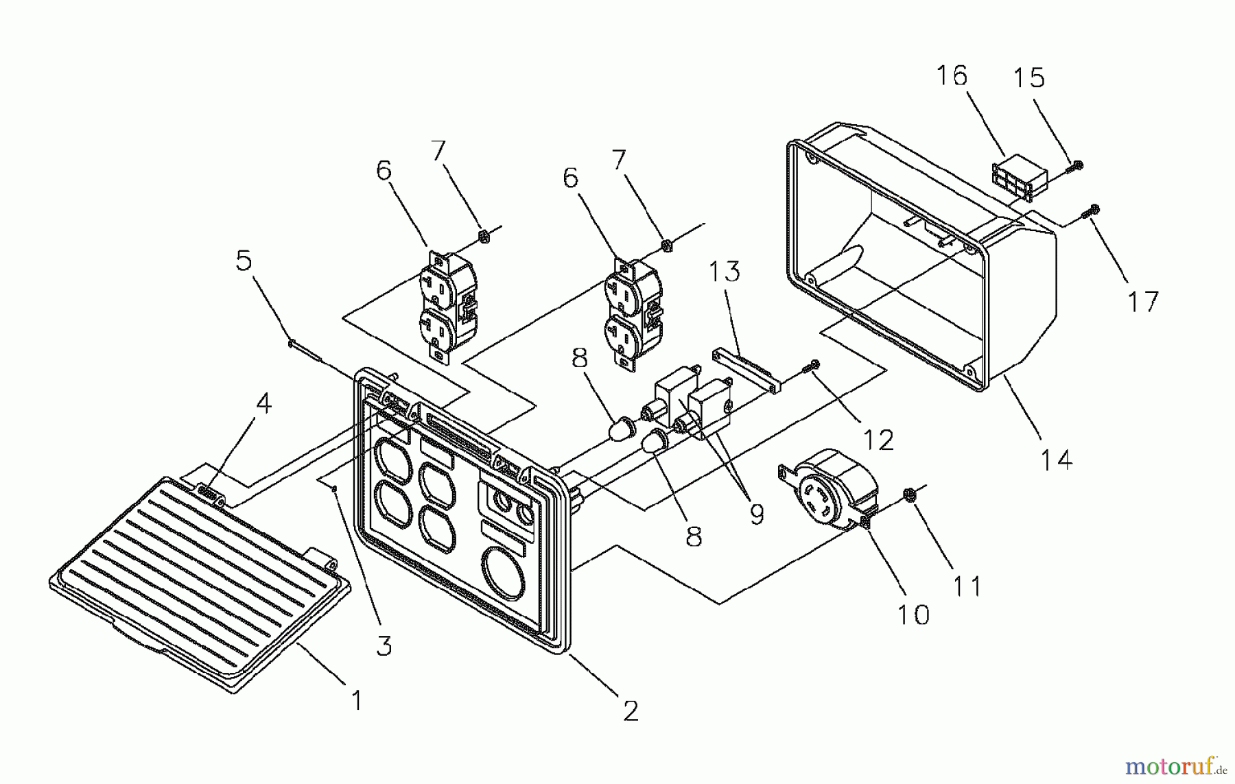
Hier finden Sie die Ersatzteilzeichnung für Snapper Sonstiges G55000 (1668-0) - Snapper 5500 Watt Generator, 10 HP CONTROL PANEL. Wählen Sie das benötigte Ersatzteil aus der Ersatzteilliste Ihres Snapper Gerätes aus und bestellen Sie einfach online. Viele Snapper Ersatzteile halten wir ständig in unserem Lager für Sie bereit.



