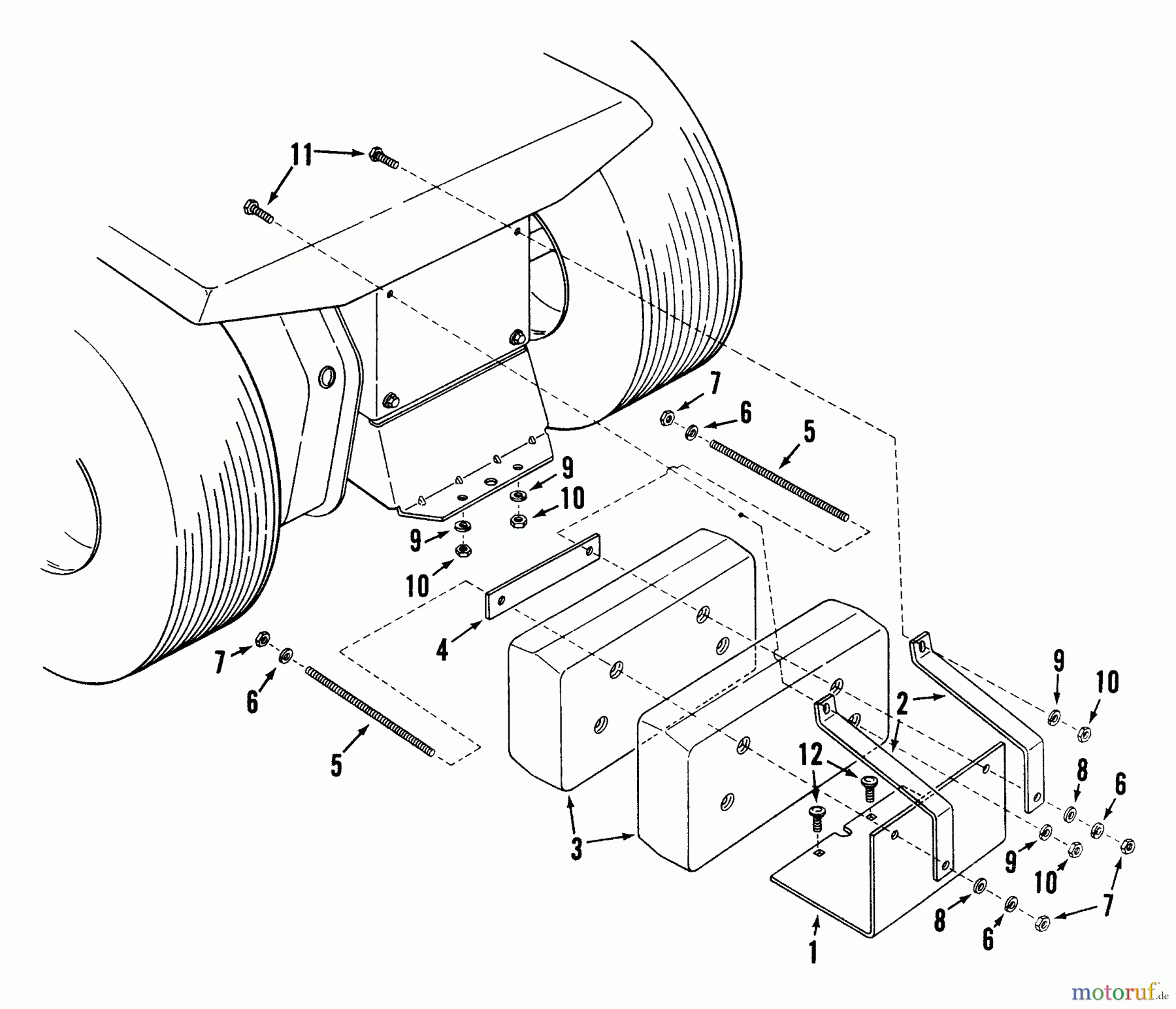
Snapper 7060659 - Rear Weight Kit Weight Kit Ersatzteile
Weight Kit 7060659 - Snapper Rear Weight Kit

Hier finden Sie die Ersatzteilzeichnung für Snapper Sonstiges 7060659 - Snapper Rear Weight Kit Weight Kit. Wählen Sie das benötigte Ersatzteil aus der Ersatzteilliste Ihres Snapper Gerätes aus und bestellen Sie einfach online. Viele Snapper Ersatzteile halten wir ständig in unserem Lager für Sie bereit.



