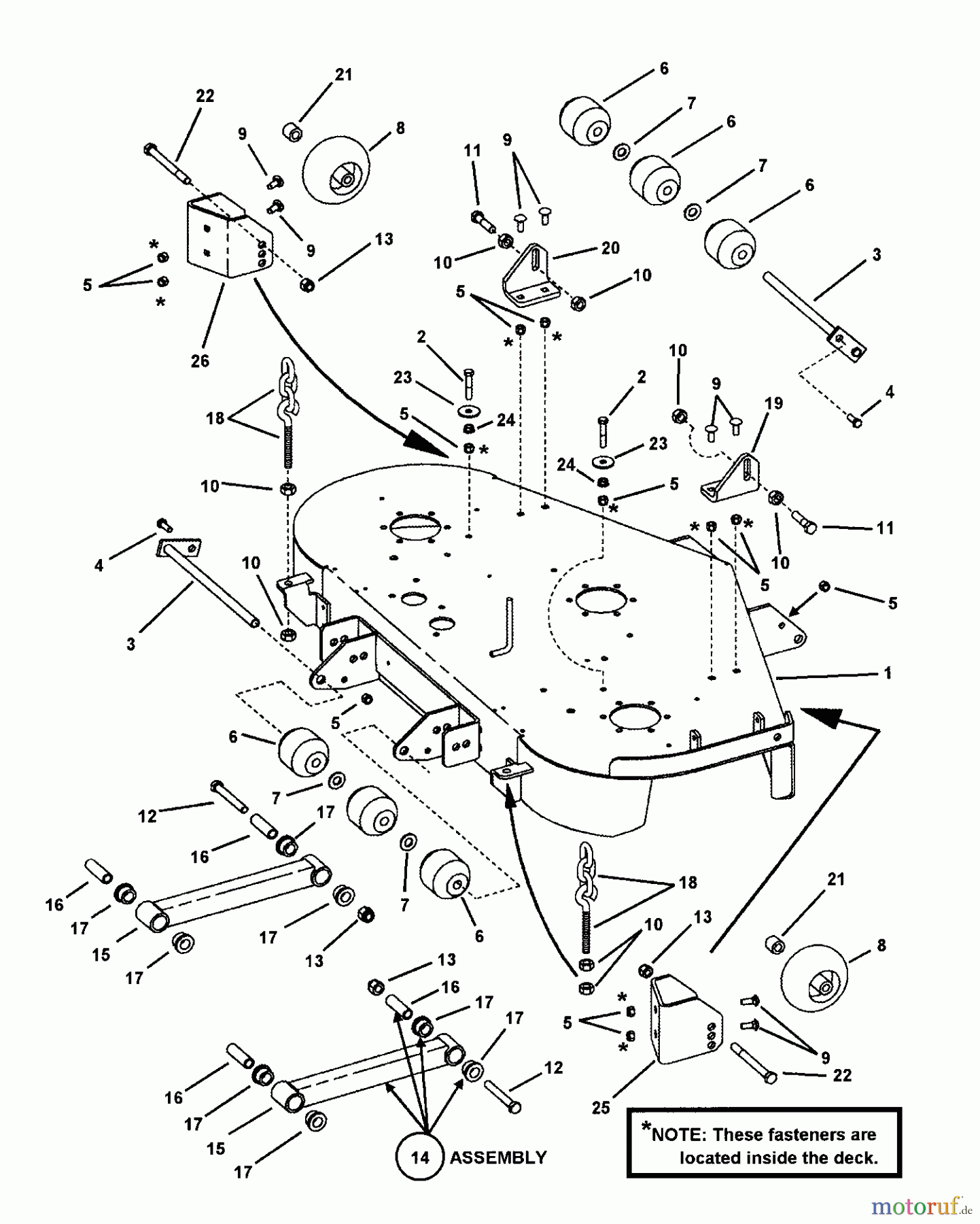
Snapper NZM19483KWV (7800020) - 48" Zero-Turn Mower, 19 HP, Kawasaki, Mid Mount, Z-Rider Commercial Lawn & Turf Series 3 48" CUTTING DECK ASSEMBLY (Sub Assy) Ersatzteile
48" CUTTING DECK ASSEMBLY (Sub Assy) NZM19483KWV (7800020) - Snapper 48" Zero-Turn Mower, 19 HP, Kawasaki, Mid Mount, Z-Rider Commercial Lawn & Turf Series 3

Hier finden Sie die Ersatzteilzeichnung für Snapper Nullwendekreismäher, Zero-Turn NZM19483KWV (7800020) - Snapper 48" Zero-Turn Mower, 19 HP, Kawasaki, Mid Mount, Z-Rider Commercial Lawn & Turf Series 3 48" CUTTING DECK ASSEMBLY (Sub Assy). Wählen Sie das benötigte Ersatzteil aus der Ersatzteilliste Ihres Snapper Gerätes aus und bestellen Sie einfach online. Viele Snapper Ersatzteile halten wir ständig in unserem Lager für Sie bereit.


Qualitätsmanagement
Informieren Sie uns, wenn Sie einen Fehler gefunden haben.

