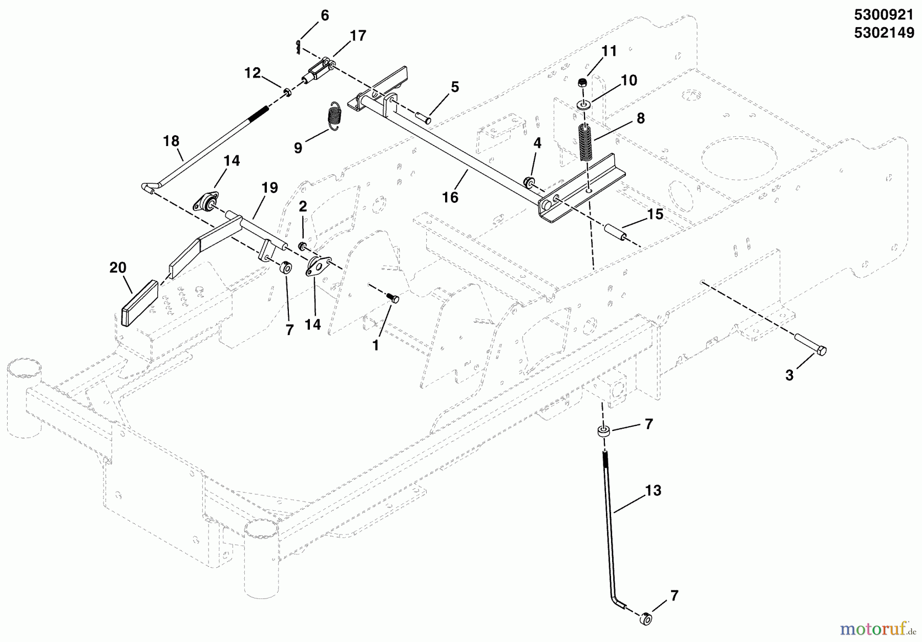
Snapper 500ZB2648 (5900731) - 48" Zero-Turn Mower, ZTR 500Z Series Parking Brake Group Ersatzteile
Parking Brake Group 500ZB2648 (5900731) - Snapper 48" Zero-Turn Mower, ZTR 500Z Series

Hier finden Sie die Ersatzteilzeichnung für Snapper Nullwendekreismäher, Zero-Turn 500ZB2648 (5900731) - Snapper 48" Zero-Turn Mower, ZTR 500Z Series Parking Brake Group. Wählen Sie das benötigte Ersatzteil aus der Ersatzteilliste Ihres Snapper Gerätes aus und bestellen Sie einfach online. Viele Snapper Ersatzteile halten wir ständig in unserem Lager für Sie bereit.


Qualitätsmanagement
Informieren Sie uns, wenn Sie einen Fehler gefunden haben.

