Snapper W32121K - 32" Walk-Behind Mower, 12 HP, Variable Belt Drive, Commercial Lawn & Turf Series 1 32" Mower, Front Deck Ersatzteile
32" Mower, Front Deck W32121K - Snapper 32" Walk-Behind Mower, 12 HP, Variable Belt Drive, Commercial Lawn & Turf Series 1

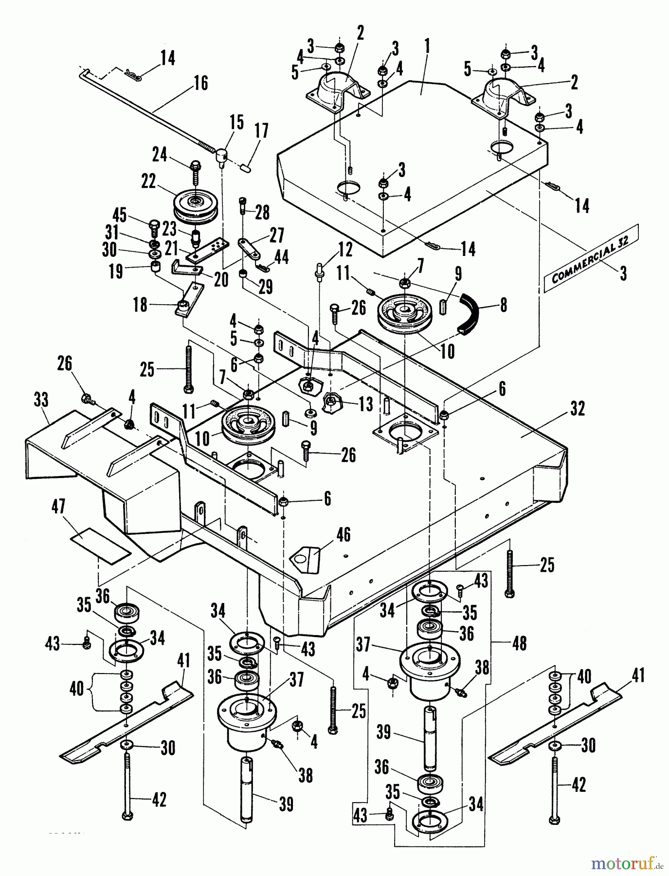
Hier finden Sie die Ersatzteilzeichnung für Snapper Rasenmäher für Großflächen W32121K - Snapper 32" Walk-Behind Mower, 12 HP, Variable Belt Drive, Commercial Lawn & Turf Series 1 32" Mower, Front Deck. Wählen Sie das benötigte Ersatzteil aus der Ersatzteilliste Ihres Snapper Gerätes aus und bestellen Sie einfach online. Viele Snapper Ersatzteile halten wir ständig in unserem Lager für Sie bereit.


Qualitätsmanagement
Informieren Sie uns, wenn Sie einen Fehler gefunden haben.



