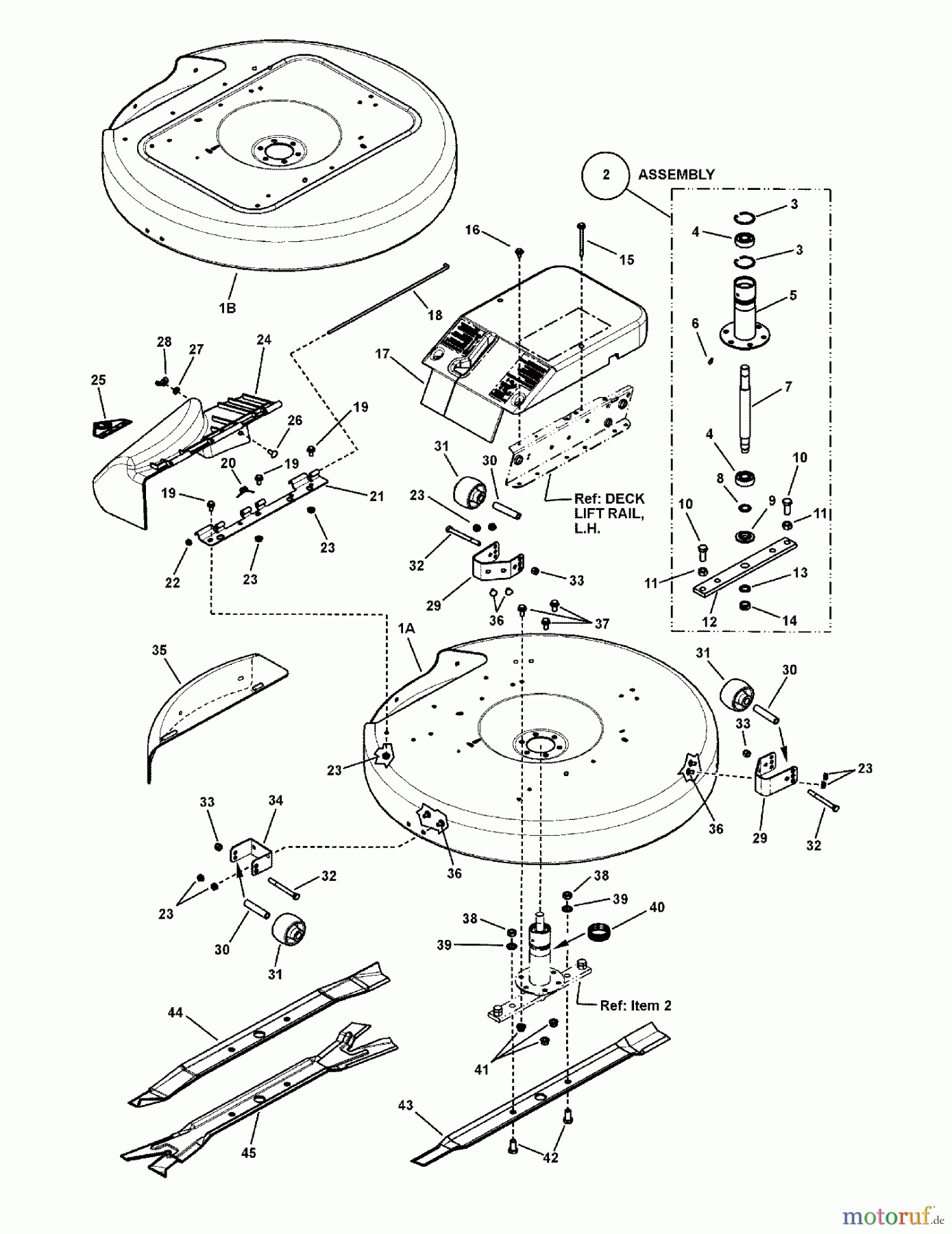
Snapper 3317524BVE (7800787) - 33" Rear-Engine Rider, 17.5 HP, Series 24 Mower Deck & Spindle Group (28" & 33") Ersatzteile
Mower Deck & Spindle Group (28" & 33") 3317524BVE (7800787) - Snapper 33" Rear-Engine Rider, 17.5 HP, Series 24

Hier finden Sie die Ersatzteilzeichnung für Snapper Reitermäher 3317524BVE (7800787) - Snapper 33" Rear-Engine Rider, 17.5 HP, Series 24 Mower Deck & Spindle Group (28" & 33"). Wählen Sie das benötigte Ersatzteil aus der Ersatzteilliste Ihres Snapper Gerätes aus und bestellen Sie einfach online. Viele Snapper Ersatzteile halten wir ständig in unserem Lager für Sie bereit.


Qualitätsmanagement
Informieren Sie uns, wenn Sie einen Fehler gefunden haben.






