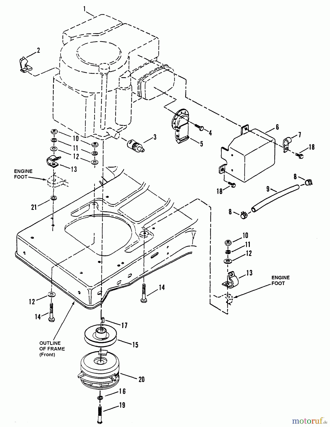
Snapper LT160H42CBV - 42" Lawn Tractor, 16 HP, Hydro Drive, Series C Engine Components Ersatzteile
Engine Components LT160H42CBV - Snapper 42" Lawn Tractor, 16 HP, Hydro Drive, Series C

Hier finden Sie die Ersatzteilzeichnung für Snapper Rasen- und Gartentraktoren LT160H42CBV - Snapper 42" Lawn Tractor, 16 HP, Hydro Drive, Series C Engine Components. Wählen Sie das benötigte Ersatzteil aus der Ersatzteilliste Ihres Snapper Gerätes aus und bestellen Sie einfach online. Viele Snapper Ersatzteile halten wir ständig in unserem Lager für Sie bereit.



