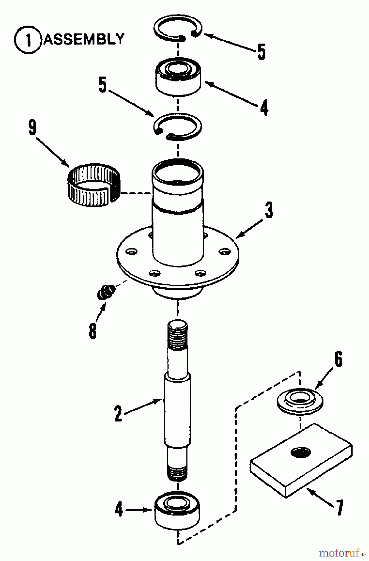
Snapper LT16001 - 16 HP Lawn Tractor, Disc Drive, Series 1 Spindle Assembly (41" & 48" Outboard) Ersatzteile
Spindle Assembly (41" & 48" Outboard) LT16001 - Snapper 16 HP Lawn Tractor, Disc Drive, Series 1

Hier finden Sie die Ersatzteilzeichnung für Snapper Rasen- und Gartentraktoren LT16001 - Snapper 16 HP Lawn Tractor, Disc Drive, Series 1 Spindle Assembly (41" & 48" Outboard). Wählen Sie das benötigte Ersatzteil aus der Ersatzteilliste Ihres Snapper Gerätes aus und bestellen Sie einfach online. Viele Snapper Ersatzteile halten wir ständig in unserem Lager für Sie bereit.



