Snapper 7061818 - Belt Tension Reduction Kit, SPA360 Belt Tension Reduction Ersatzteile
Belt Tension Reduction 7061818 - Snapper Belt Tension Reduction Kit, SPA360

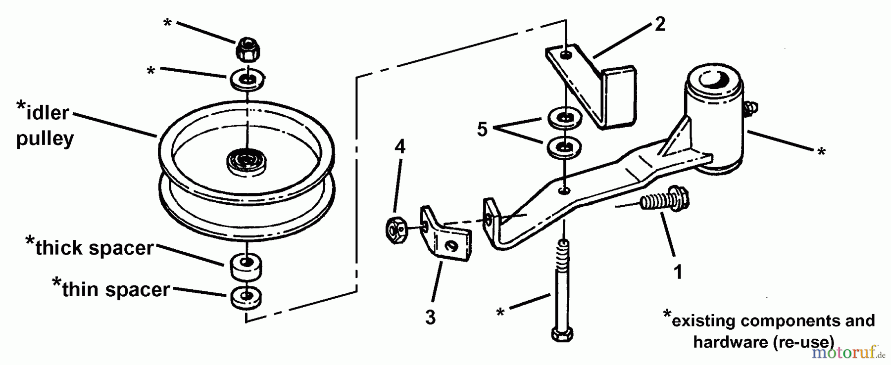
Hier finden Sie die Ersatzteilzeichnung für Snapper Zubehör. Rasenmäher 7061818 - Snapper Belt Tension Reduction Kit, SPA360 Belt Tension Reduction. Wählen Sie das benötigte Ersatzteil aus der Ersatzteilliste Ihres Snapper Gerätes aus und bestellen Sie einfach online. Viele Snapper Ersatzteile halten wir ständig in unserem Lager für Sie bereit.
| BildNr | Artikel Nummer | Bezeichnung | |
| BS7061868YP | SPRING REPLACEMENT KI | ||
| 1 | BS7027198YP | (C) HFLB, 3/8C X1 YZ | |
| 2 | BS7035656YP | (C) RETAINER, BELT, I | |
| 3 | BS7036429YP | (C) BRKT, IDLER, PRO3 | |
| 4 | BS703117 | MUTTER | |
| 5 | BS703878 | WASHER, FLAT | |


Qualitätsmanagement
Informieren Sie uns, wenn Sie einen Fehler gefunden haben.

