Shindaiwa T222 - String Trimmer Handle Assembly Ersatzteile
Handle Assembly T222 - Shindaiwa String Trimmer

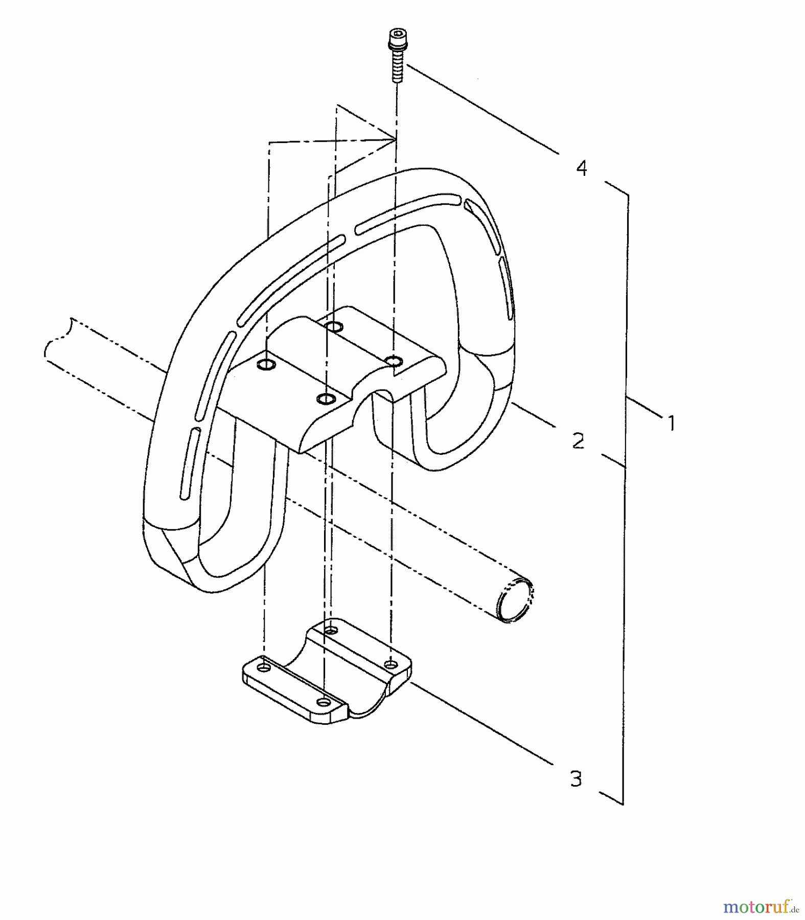
Hier finden Sie die Ersatzteilzeichnung für Shindaiwa Trimmer, Faden / Bürste T222 - Shindaiwa String Trimmer Handle Assembly. Wählen Sie das benötigte Ersatzteil aus der Ersatzteilliste Ihres Shindaiwa Gerätes aus und bestellen Sie einfach online. Viele Shindaiwa Ersatzteile halten wir ständig in unserem Lager für Sie bereit.
| BildNr | Artikel Nummer | Bezeichnung | |
| 1 | 16-P021027830 | ||
| 2 | 16-C400000640 | ||
| 3 | 16-C423-000430 | Halter, Griff AHS242S | |
| 4 | 16-V203-000630 | Schraube, SPW | |


Qualitätsmanagement
Informieren Sie uns, wenn Sie einen Fehler gefunden haben.

