Shindaiwa F21 - String Trimmer Fuel Tank Ersatzteile
Fuel Tank F21 - Shindaiwa String Trimmer

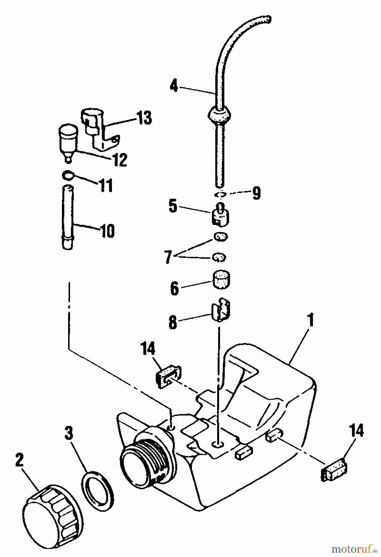
Hier finden Sie die Ersatzteilzeichnung für Shindaiwa Trimmer, Faden / Bürste F21 - Shindaiwa String Trimmer Fuel Tank. Wählen Sie das benötigte Ersatzteil aus der Ersatzteilliste Ihres Shindaiwa Gerätes aus und bestellen Sie einfach online. Viele Shindaiwa Ersatzteile halten wir ständig in unserem Lager für Sie bereit.




