Shindaiwa BP25 - String Trimmer / Brush Cutter Carburetor Ersatzteile
Carburetor BP25 - Shindaiwa String Trimmer / Brush Cutter

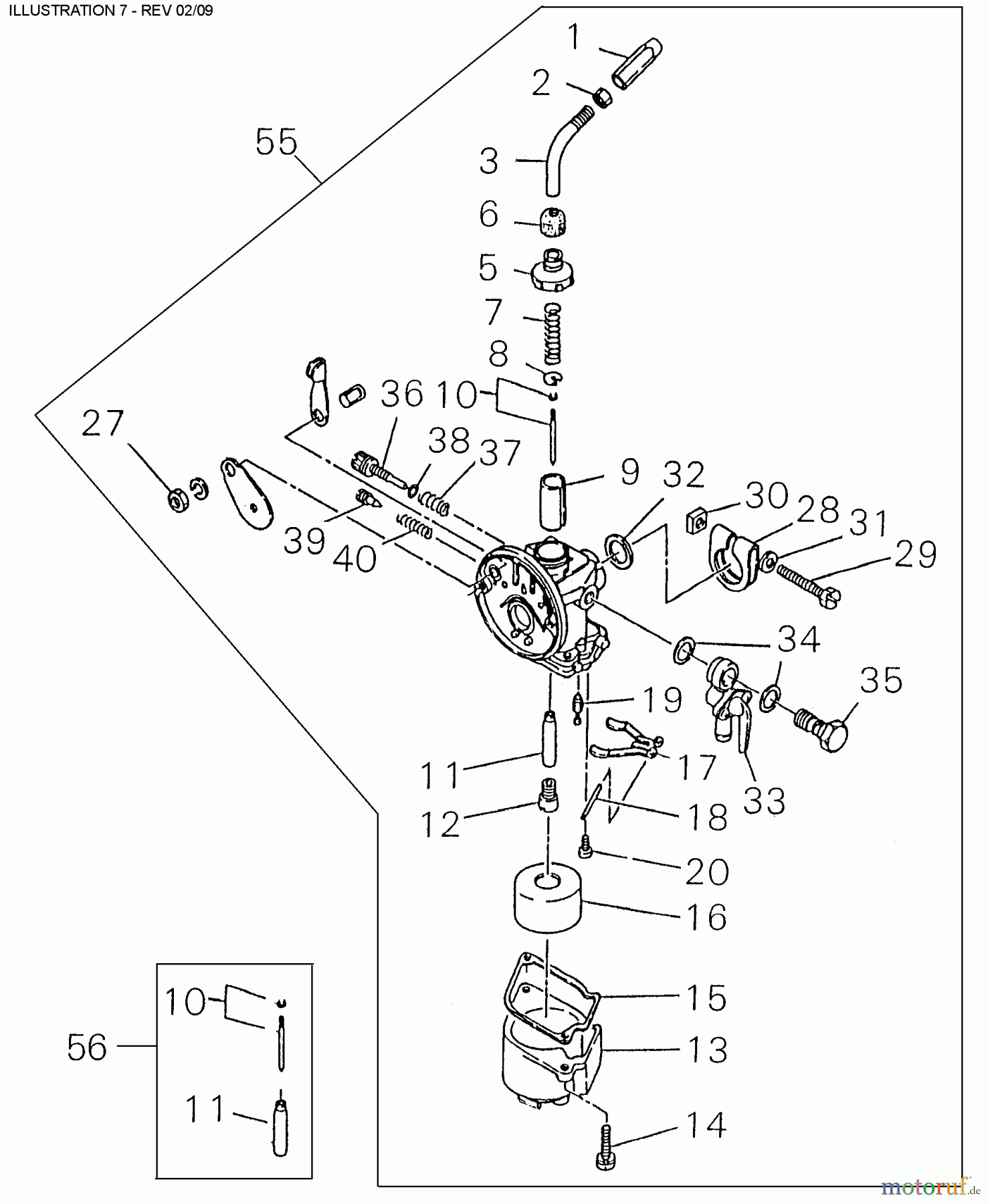
Hier finden Sie die Ersatzteilzeichnung für Shindaiwa Trimmer, Faden / Bürste BP25 - Shindaiwa String Trimmer / Brush Cutter Carburetor. Wählen Sie das benötigte Ersatzteil aus der Ersatzteilliste Ihres Shindaiwa Gerätes aus und bestellen Sie einfach online. Viele Shindaiwa Ersatzteile halten wir ständig in unserem Lager für Sie bereit.


Qualitätsmanagement
Informieren Sie uns, wenn Sie einen Fehler gefunden haben.

