Shindaiwa 360 - Chainsaw, Cylinder / Intake / Exhaust Ersatzteile
Cylinder / Intake / Exhaust 360 - Shindaiwa Chainsaw,

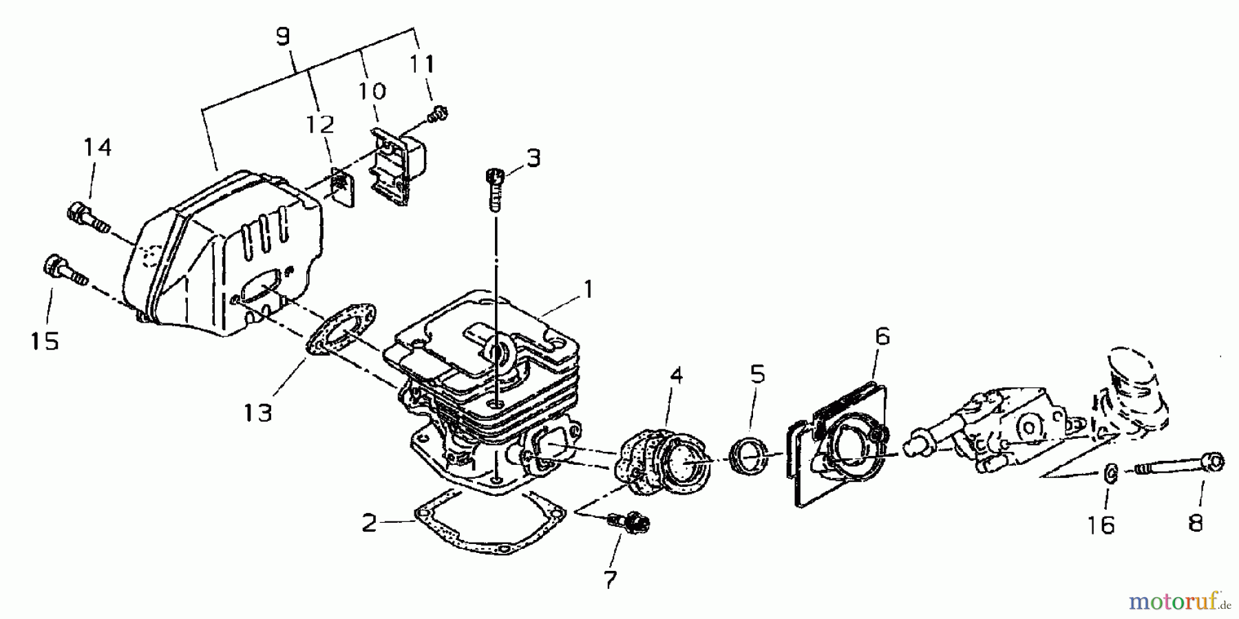
Hier finden Sie die Ersatzteilzeichnung für Shindaiwa Sägen, Motorsägen 360 - Shindaiwa Chainsaw, Cylinder / Intake / Exhaust. Wählen Sie das benötigte Ersatzteil aus der Ersatzteilliste Ihres Shindaiwa Gerätes aus und bestellen Sie einfach online. Viele Shindaiwa Ersatzteile halten wir ständig in unserem Lager für Sie bereit.




