Shindaiwa HT232 - Hedge Trimmer, Single-Sided, 40" Cutter S/N T23111001001 - T23111999999 Ersatzteile
40" Cutter S/N T23111001001 - T23111999999 HT232 - Shindaiwa Hedge Trimmer, Single-Sided,

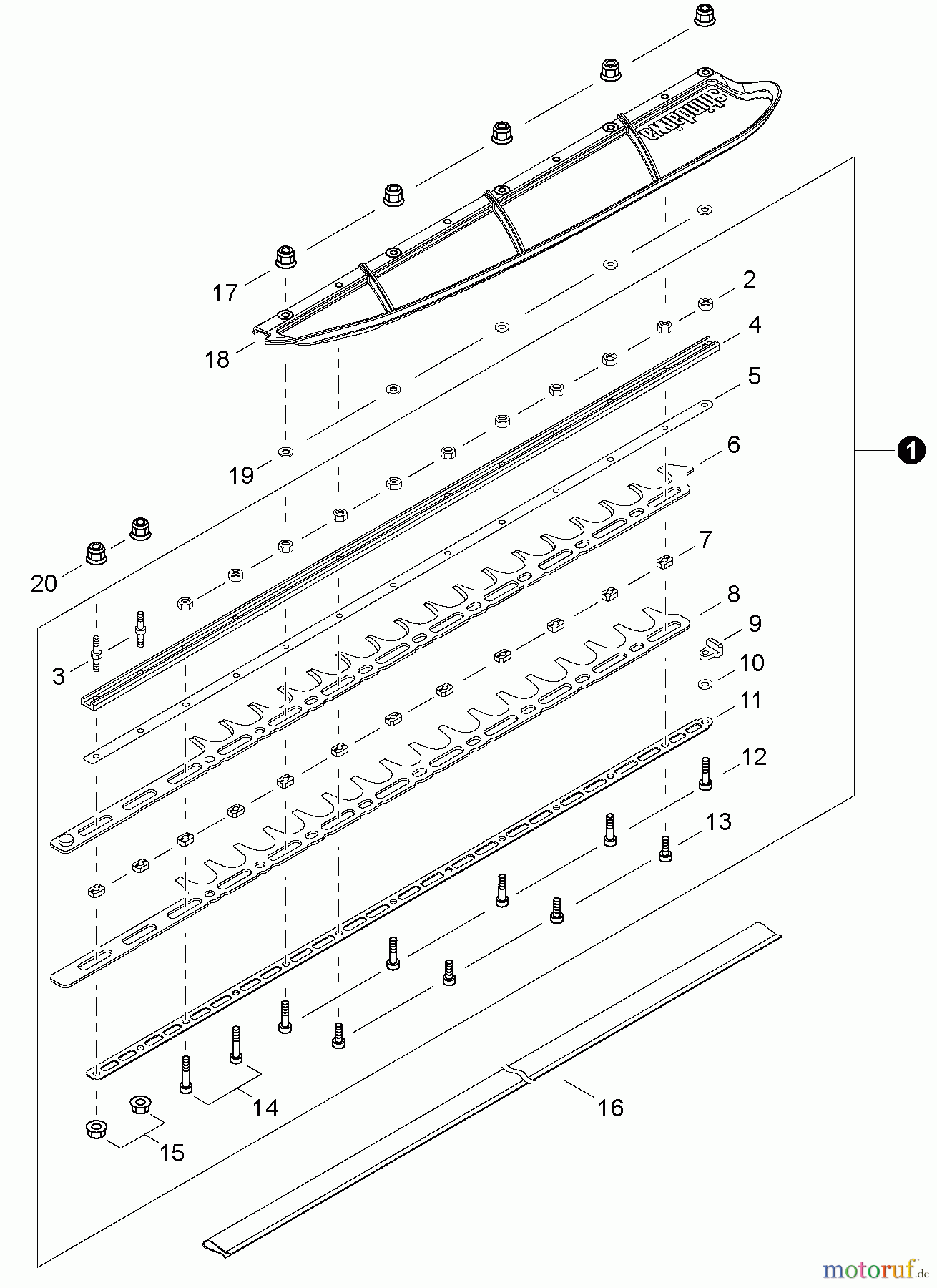
Hier finden Sie die Ersatzteilzeichnung für Shindaiwa Heckenscheren HT232 - Shindaiwa Hedge Trimmer, Single-Sided, 40" Cutter S/N T23111001001 - T23111999999. Wählen Sie das benötigte Ersatzteil aus der Ersatzteilliste Ihres Shindaiwa Gerätes aus und bestellen Sie einfach online. Viele Shindaiwa Ersatzteile halten wir ständig in unserem Lager für Sie bereit.


Qualitätsmanagement
Informieren Sie uns, wenn Sie einen Fehler gefunden haben.

