Shindaiwa HT232 - Hedge Trimmer, Single-Sided, Front Handle Ersatzteile
Front Handle HT232 - Shindaiwa Hedge Trimmer, Single-Sided,

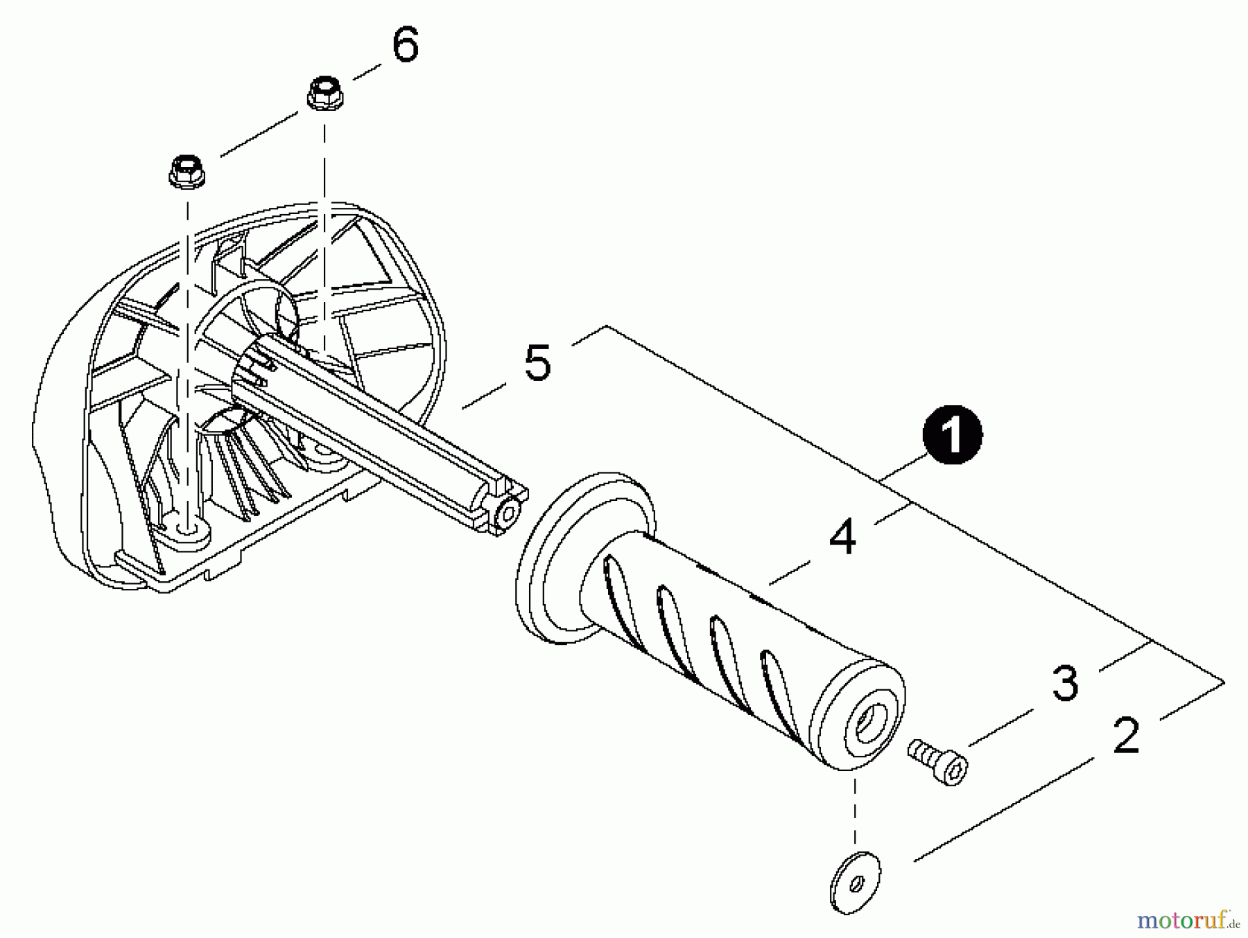
Hier finden Sie die Ersatzteilzeichnung für Shindaiwa Heckenscheren HT232 - Shindaiwa Hedge Trimmer, Single-Sided, Front Handle. Wählen Sie das benötigte Ersatzteil aus der Ersatzteilliste Ihres Shindaiwa Gerätes aus und bestellen Sie einfach online. Viele Shindaiwa Ersatzteile halten wir ständig in unserem Lager für Sie bereit.
| BildNr | Artikel Nummer | Bezeichnung | |
| 1 | 16-P021041620 | ||
| 2 | 16-V323000120 | ||
| 3 | 16-V805-000010 | Bolzen CS-352ES/HC-341ES/PB- | |
| 4 | 16-C403000460 | ||
| 5 | 16-C400000861 | ||
| 6 | 16-V263-000250 | Sicherungsmutter DH2200ST | |


Qualitätsmanagement
Informieren Sie uns, wenn Sie einen Fehler gefunden haben.

